Запчасти Komatsu PC210-6G БЕЗ АККУМУЛЯТОРА ЭЛЕКТРИКА

Схема запчастей Komatsu PC210-6G - БЕЗ АККУМУЛЯТОРА ЭЛЕКТРИКА
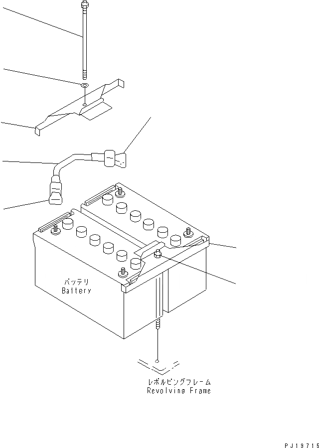
1
1
2
2
2A
3
3
4
FIT
1:1
100%

Артикул

Название

Примечание

Количество

1

205-06-71174

HOLDER

|1

205-06-71173

HOLDER

2

205-06-71180

BOLT

2A

01643-31232

WASHER

3

08038-42511

CAP

|3

08038-22511

CAP

4

08028-63030

WIRE

|4

08028-43030

CABLE

Выбрано товаров: 8