Запчасти Komatsu PC210-6G ЭЛЕКТРОПРОВОДКА (ОСНОВН. Э/ПРОВОДКА) (АВТОМАТИЧ. СМАЗ. ПОДАЮЩ. СИСТЕМА)(№-99) ЭЛЕКТРИКА

Схема запчастей Komatsu PC210-6G - ЭЛЕКТРОПРОВОДКА (ОСНОВН. Э/ПРОВОДКА) (АВТОМАТИЧ. СМАЗ. ПОДАЮЩ. СИСТЕМА)(№-99) ЭЛЕКТРИКА
FIT
1:1
100%

Артикул

Название

Примечание

Количество

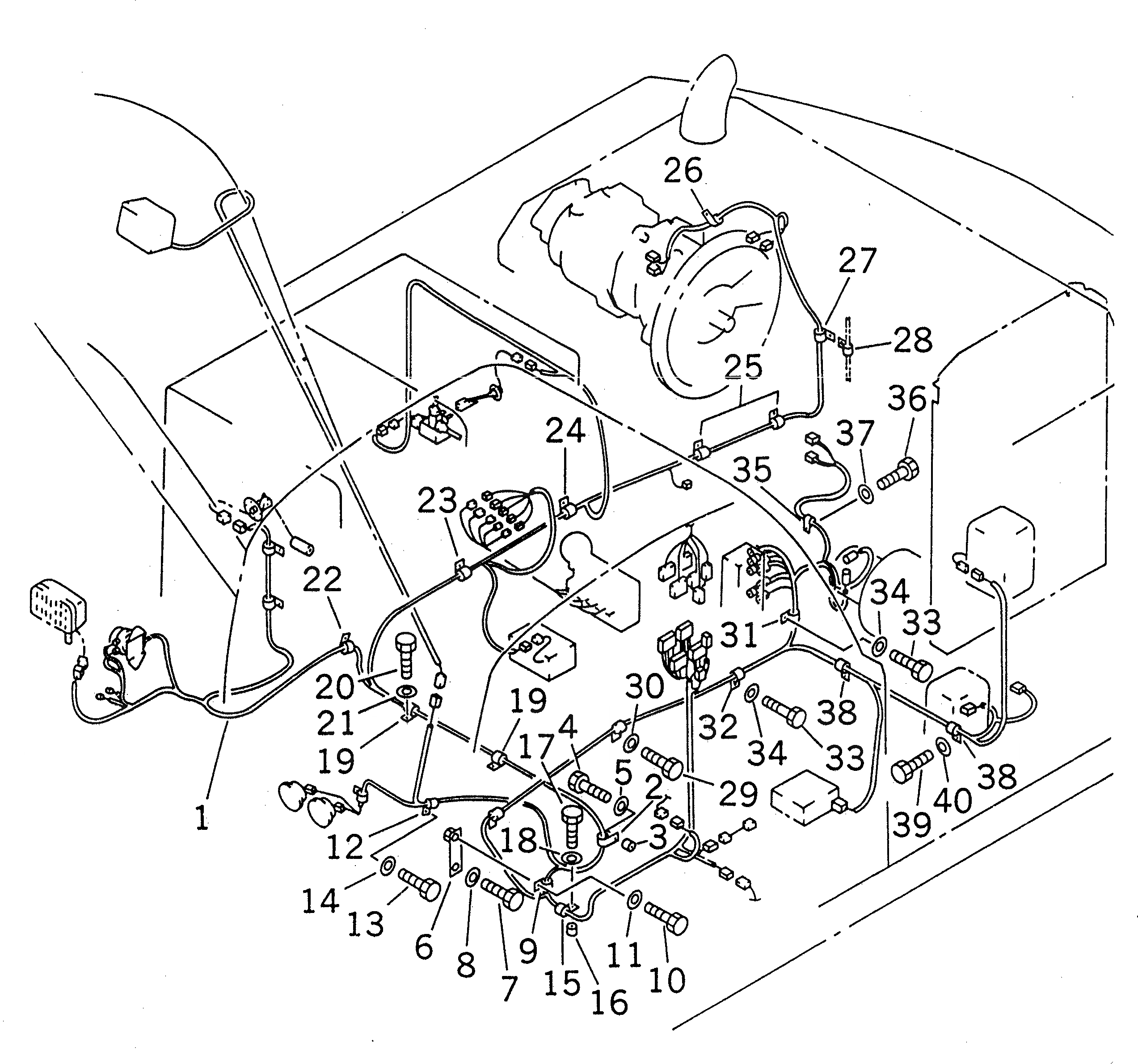
1

20Y-06-22550

WIRING HARNESS

|1

08020-00000

DIODE

|1

20Y-06-15150

FUSIBLE LINK

2

113-899-7950

CLIP

3

144-947-3490

SPACER

4

01010-51245

BOLT

5

01643-31232

WASHER

6

20Y-06-21240

PLATE

7

01010-51225

BOLT

8

01643-31232

WASHER

9

113-899-7950

CLIP

10

01010-51225

BOLT

11

01643-31232

WASHER

12

08036-01014

CLIP

13

01010-51225

BOLT

14

01643-31232

WASHER

15

113-899-7950

CLIP

16

144-947-3490

SPACER

17

01010-51245

BOLT

18

01643-31232

WASHER

19

113-899-7950

CLIP

20

01010-51225

BOLT

21

01643-31232

WASHER

22

08036-01814

CLIP

23

113-899-7950

CLIP

24

08035-03014

CLIP

25

08036-02514

CLIP

26

08036-01414

CLIP

27

08036-02514

CLIP

28

08036-01414

CLIP

29

01010-51225

BOLT

30

01643-31232

WASHER

31

08036-01814

CLIP

32

08036-02514

CLIP

33

01010-51225

BOLT

34

01643-31232

WASHER

35

08036-01414

CLIP

36

01010-51225

BOLT

37

01643-31232

WASHER

38

08036-01414

CLIP

39

01010-51225

BOLT

40

01643-31232

WASHER

Выбрано товаров: 42