Запчасти Komatsu PC210-6G ЗАДН. РАБОЧ. ОСВЕЩЕНИЕ ЭЛЕКТРИКА

Схема запчастей Komatsu PC210-6G - ЗАДН. РАБОЧ. ОСВЕЩЕНИЕ ЭЛЕКТРИКА
FIT
1:1
100%

Артикул

Название

Примечание

Количество

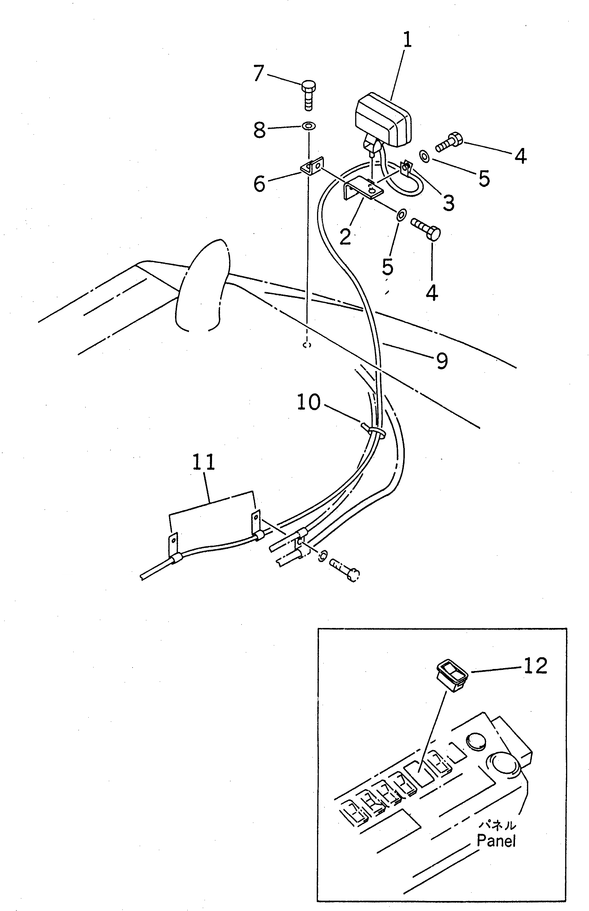
1

20Y-06-25310

WORK LAMP ASS'Y

|1

20Y-06-21480

WORK LAMP ASS'Y

|1

421-06-23330

BULB¤ 70W

2

20Y-06-21551

BRACKET

|2

20Y-06-21550

BRACKET

3

21T-38-12270

CLIP

4

01010-81225

BOLT

|4

01010-51225

BOLT

5

01643-31232

WASHER

6

20Y-06-21590

BRACKET

7

01010-81225

BOLT

|7

01010-51225

BOLT

8

01643-31232

WASHER

9

20Y-06-21320

WIRE

10

08034-00414

BAND

11

515-35-13930

CLIP

12

20Y-06-23451

SWITCH

Выбрано товаров: 17