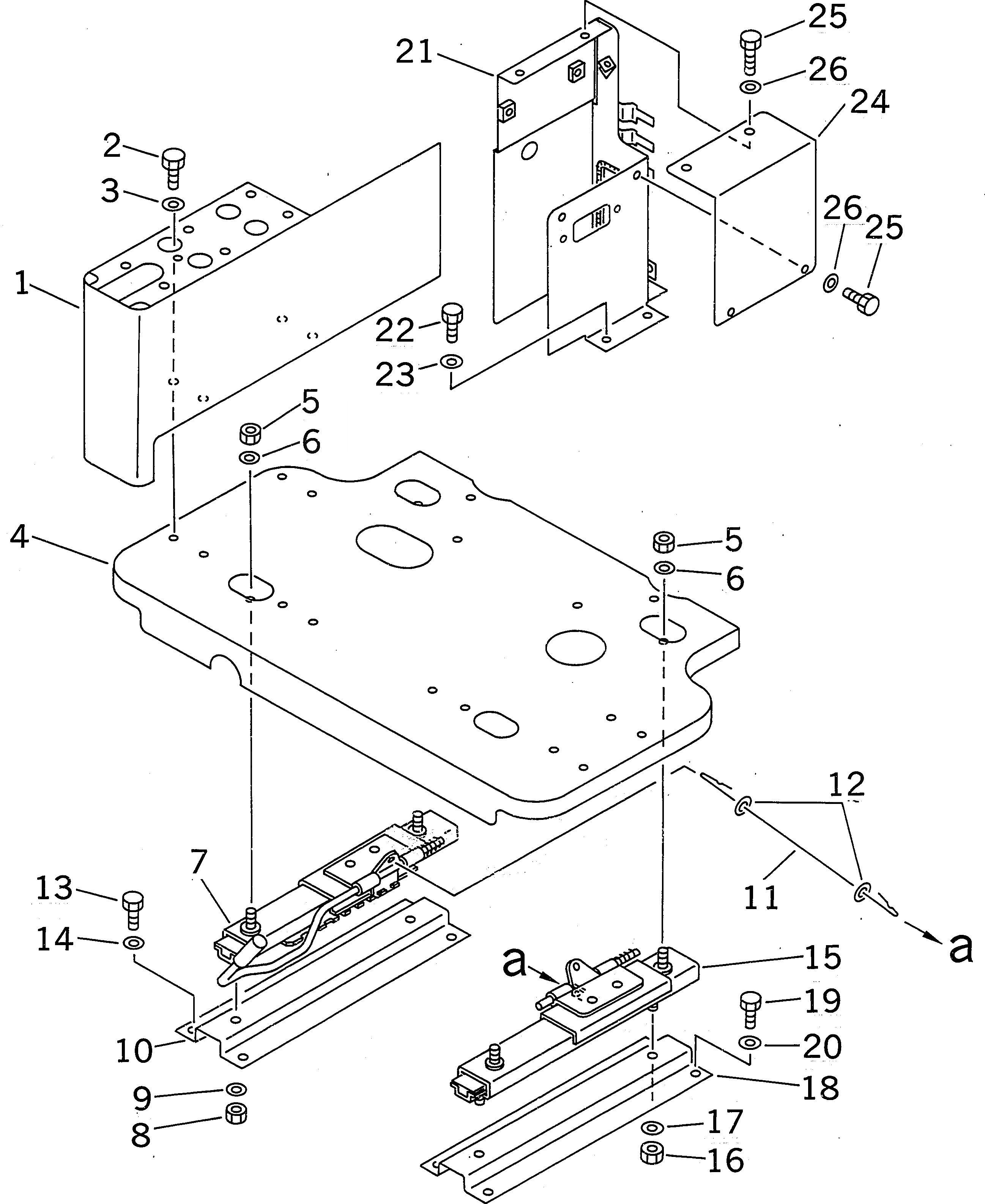
Запчасти Komatsu PC210-6K ПРАВ. СТОЙКА (СТОЙКА¤ РАМА И РЕГУЛЯТОР)(№K-K999) КАБИНА ОПЕРАТОРА И СИСТЕМА УПРАВЛЕНИЯ

Схема запчастей Komatsu PC210-6K - ПРАВ. СТОЙКА (СТОЙКА¤ РАМА И РЕГУЛЯТОР)(№K-K999) КАБИНА ОПЕРАТОРА И СИСТЕМА УПРАВЛЕНИЯ
FIT
1:1
100%

Артикул

Название

Примечание

Количество

1

20Y-43-K1350

COVER

2

01010-51025

BOLT

3

01643-31032

WASHER

4

20Y-43-K1440

FRAME

5

01582-11008

NUT

6

01643-31032

WASHER

7

207-43-61140

ADJUSTER,R.H.

8

01582-11008

NUT

9

01643-31032

WASHER

10

20Y-43-28230

PLATE

11

20Y-43-22540

WIRE

12

01640-20816

WASHER

13

01010-51020

BOLT

14

01643-31032

WASHER

15

207-43-61130

ADJUSTER,L.H.

16

01582-11008

NUT

17

01643-31032

WASHER

18

20Y-43-28230

PLATE

19

01010-51020

BOLT

20

01643-31032

WASHER

21

20Y-43-28140

COVER,R.H.

22

01010-51225

BOLT

23

01643-31232

WASHER

24

20Y-43-21970

COVER

25

01010-50816

BOLT

26

01643-30823

WASHER

Выбрано товаров: 26