Качественные детали и логистика
Оригинальные и аналоговые запчасти с доставкой по России, Казахстану и Беларуси
©2022 PartSell ООО "Система" ИНН 2463123282 ОГРН 1212400004838
Центральный офис: г. Красноярск, Академика Киренского, д.87, пом.4
Телефон: 8 (800) 777-65-74 Email: zakaz@partsell.ru
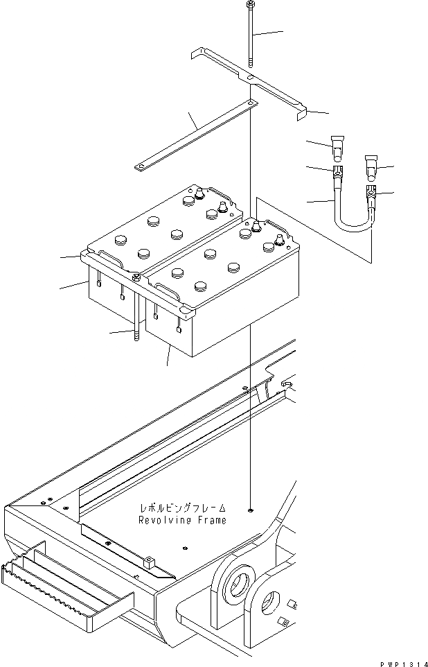
АККУМУЛЯТОР (ВЫСОК. ЕМК.)
№
Артикул
Название
Примечание
Количество
1
423-06-K1110
BATTERY¤ 12V 150AH,WET
2
08000-00000
TERMINAL¤ (+)
3
08000-00001
TERMINAL¤ (-)
4
205-06-K1251
CLAMP
5
207-06-K1270
PLATE
6
205-06-K1730
BOLT
7
08038-42511
CAP
8
08028-63050
WIRE
Выбрано товаров: 0