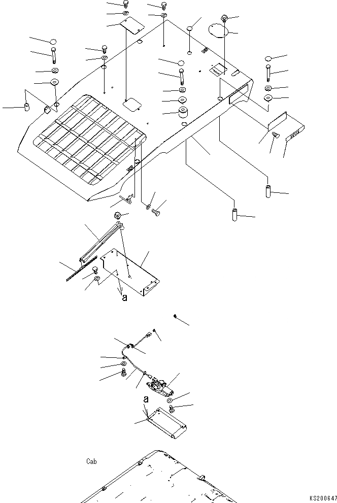
Запчасти Komatsu PC210-8K ВЕРХНЯЯ ЗАЩИТА И ДВОРНИКИ (РАЗРУШ. ЗДАНИЙ ОСНОВ.) K OPERATORґS ОБСТАНОВКА И СИСТЕМА УПРАВЛЕНИЯ

Схема запчастей Komatsu PC210-8K - ВЕРХНЯЯ ЗАЩИТА И ДВОРНИКИ (РАЗРУШ. ЗДАНИЙ ОСНОВ.) K OPERATORґS ОБСТАНОВКА И СИСТЕМА УПРАВЛЕНИЯ
32
33
31
8
6
4
7
5
19
18
12
13
9
11
10
8
3
4
7
41
39
38
2
2
40
7
4
3
8
36
37
1
35
25
24
23
21
22
17
34
34
28
30
29
20
27
26
34
34
14
16
15
FIT
1:1
100%

Артикул

Название

Примечание

Количество

1

20Y-954-6412

GUARD

|1

20Y-954-6411

GUARD

2

20Y-954-6421

BOSS

3

01011-D1260

BOLT

4

01643-71232

WASHER

5

20Y-954-6360

COLLAR

6

01011-D1220

BOLT

7

130-43-64260

COLLAR

8

195-Z11-2970

CAP

9

09415-02512

CAP

10

20Y-954-6250

PLATE

11

01023-20612

SCREW

12

01010-D1220

BOLT

13

01643-71232

WASHER

14

207-54-86430

MOTOR

15

01010-D0816

BOLT

16

01643-70823

WASHER

17

20Y-954-6282

BRACKET

|17

20Y-954-6281

BRACKET

18

01010-D1055

BOLT

19

01643-71032

WASHER

20

20Y-954-6311

COVER

21

01010-D0816

BOLT

22

01643-70823

WASHER

23

08185-00350

BLADE

24

209-54-81790

WIPER ARM ASSEMBLY

25

01023-60516

SCREW

|25

01023-60514

SCREW

26

20Y-06-41551

WIRING HARNESS

27

22B-54-18550

GROMMET

28

04434-50610

CLAMP

29

01010-D1016

BOLT

30

01643-71032

WASHER

31

22B-954-1630

PLATE

32

01010-D1020

BOLT

33

01643-71032

WASHER

34

08059-00413

CLIP

35

208-53-14470

PLATE

36

01010-D0620

BOLT

37

01643-70623

WASHER

38

09620-D2000

PLATE

39

04418-13060

SCREW

40

20Y-954-K150

COLLAR

41

09620-A3000

DECAL

Выбрано товаров: 0