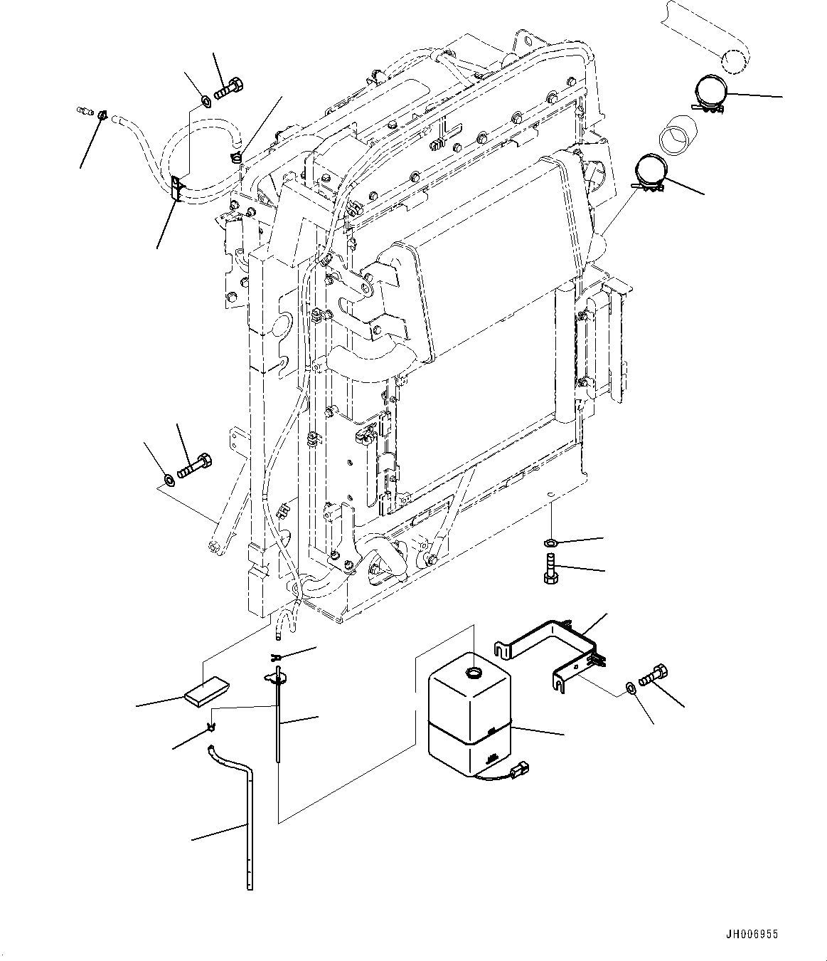
Запчасти Komatsu PC210LC-10 СИСТЕМА ОХЛАЖДЕНИЯ, SUB-БАК (№-) СИСТЕМА ОХЛАЖДЕНИЯ

Схема запчастей Komatsu PC210LC-10 - СИСТЕМА ОХЛАЖДЕНИЯ, SUB-БАК (№-) СИСТЕМА ОХЛАЖДЕНИЯ
3
4
11
13
15
16
17
6
7
8
9
10
18
19
14
12
5
2
1
5
FIT
1:1
100%

Артикул

Название

Примечание

Количество

1

01010-81640

Bolt

2

01643-31645

Washer

3

01010-81660

Bolt

4

01643-31645

Washer

5

21T-62-69711

Clamp, Hose

6

11Y-09-11140

Clip

7

11Y-09-11160

Clip

8

20Y-810-1170

Clip

9

01010-81230

Bolt

10

01643-31232

Washer

11

2A5-03-11910

Sheet

12

206-03-43340

Clip

13

419-03-21320

Tank, Reservoir

14

421-03-22170

Cap

15

2A5-54-13491

Bracket

16

01010-81220

Bolt

17

01643-31232

Washer

18

2A5-03-12140

Hose

19

206-03-43340

Clip

Выбрано товаров: 19