Качественные детали и логистика
Оригинальные и аналоговые запчасти с доставкой по России, Казахстану и Беларуси
©2022 PartSell ООО "Система" ИНН 2463123282 ОГРН 1212400004838
Центральный офис: г. Красноярск, Академика Киренского, д.87, пом.4
Телефон: 8 (800) 777-65-74 Email: zakaz@partsell.ru
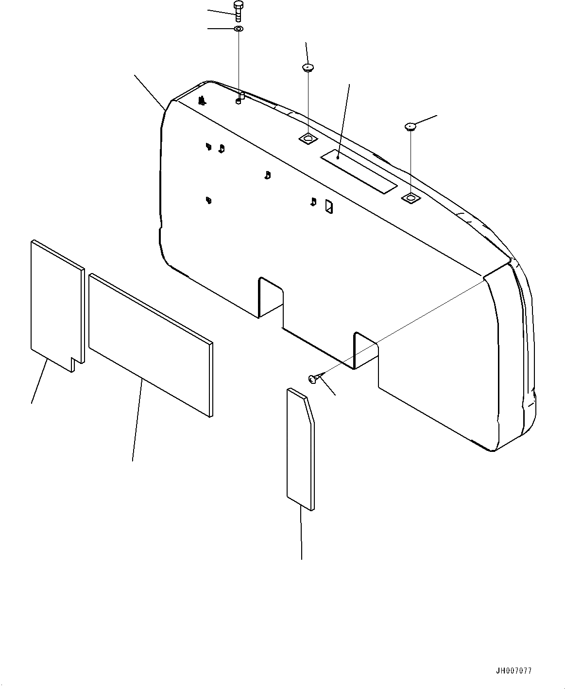
ПРОТИВОВЕС (№-)
№
Артикул
Название
Примечание
Количество
|$0
2A5-46-11760
Weight
1
2A5-46-11571
Sheet
2
2A5-46-11581
3
2A5-46-11611
4
5
2A5-46-11550
Plate
6
20Y-46-11270
Cap
7
01370-00508
Screw
8
01010-81220
Bolt
9
01643-31232
Washer
Выбрано товаров: 0