/ / / / / / / ВЕРХНЯЯ ЗАЩИТА, LV, РАЗРУШ. ЗДАНИЙ, ДОПОЛН. ДВОРНИКИ
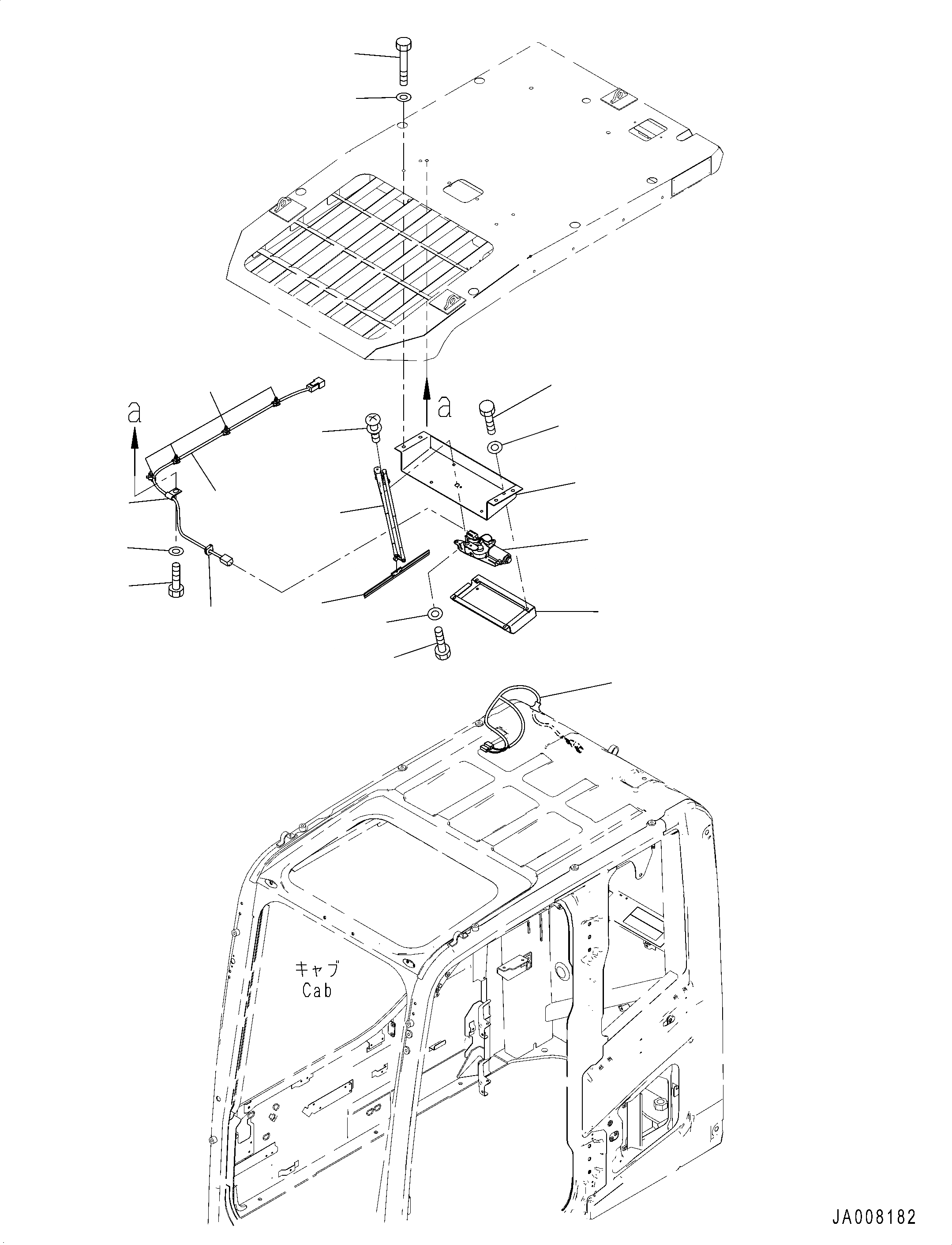
Запчасти Komatsu PC210LC-10 ВЕРХНЯЯ ЗАЩИТА, LV, РАЗРУШ. ЗДАНИЙ, ДОПОЛН. ДВОРНИКИ ВЕРХНЯЯ ЗАЩИТА (LV, РАЗРУШ. ЗДАНИЙ)
8
9
19
11
12
6
7
13
15
5
1
17
16
4
10
14
3
2
18
1
207-54-86430
Motor Assembly
2
01010-D0816
Bolt
3
01643-70823
Washer
4
08185-00350
Wiper Blade
5
209-54-81790
Arm Assembly
6
01023-60520
Screw
7
20Y-954-6282
Bracket
8
01010-D1055
Bolt
9
01643-71032
Washer
10
20Y-954-6311
Cover
11
01010-D0816
Bolt
12
01643-70823
Washer
13
20Y-06-41551
Wiring Harness
14
22B-54-18550
Grommet
15
04434-50610
Clip
16
01010-D1016
Bolt
17
01643-71032
Washer
18
20Y-06-41542
Wiring Harness
19
08059-00413
Clip
Выбрано товаров: 0