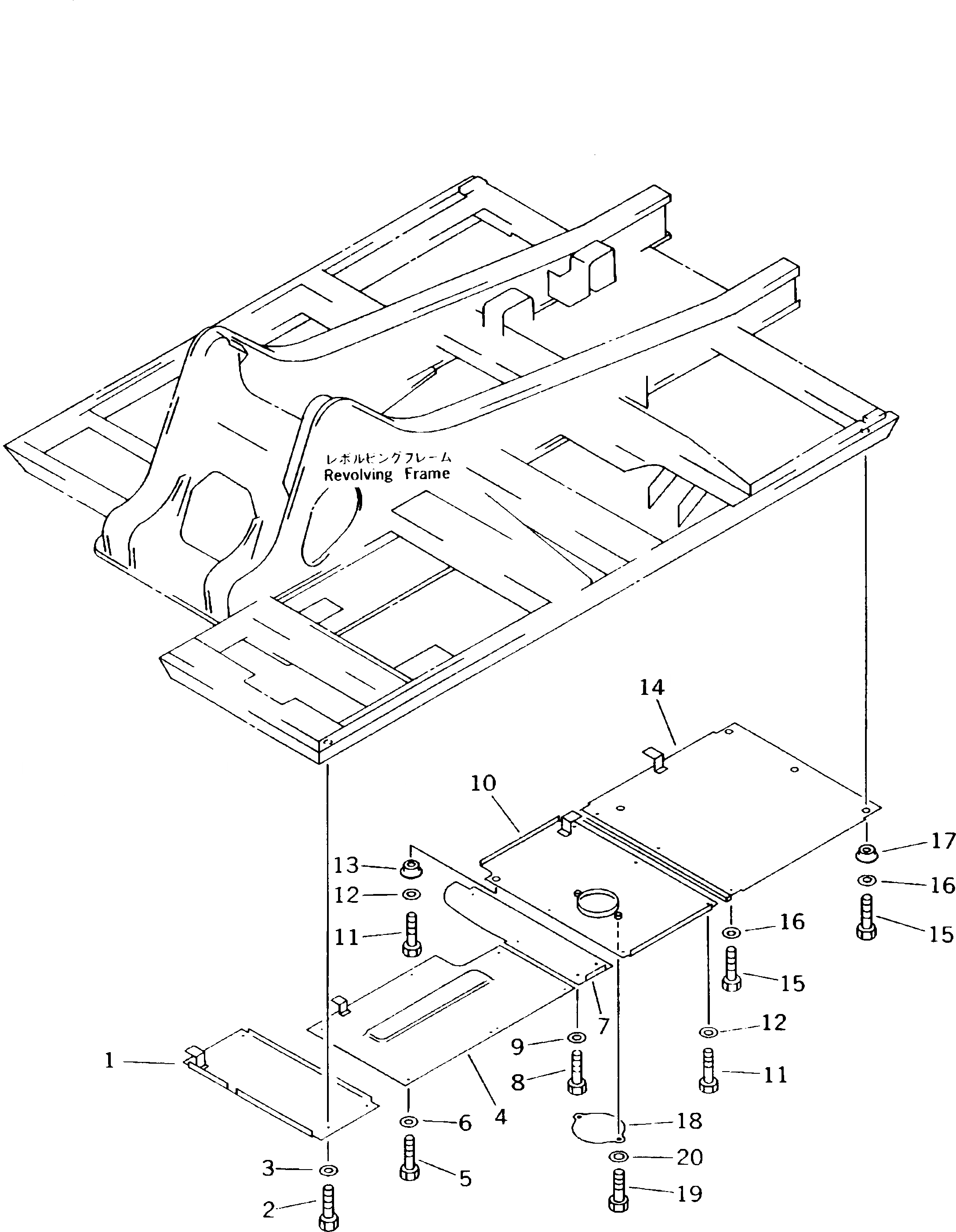
Запчасти Komatsu PC210LC-5K НИЖН. КРЫШКА (ДЛЯ РАМА ЛЕВ.)(№K-K7) ЧАСТИ КОРПУСА

Схема запчастей Komatsu PC210LC-5K - НИЖН. КРЫШКА (ДЛЯ РАМА ЛЕВ.)(№K-K7) ЧАСТИ КОРПУСА
FIT
1:1
100%

Артикул

Название

Примечание

Количество

1

20Y-54-12585

COVER

2

01010-51230

BOLT

3

01643-31232

WASHER

4

20Y-54-12572

COVER

5

01010-51230

BOLT

6

01643-31232

WASHER

7

20Y-54-12591

COVER

8

01010-51230

BOLT

9

01643-31232

WASHER

10

20Y-54-K3510

COVER

11

01010-51230

BOLT

12

01643-31232

WASHER

13

20Y-54-12550

COLLAR

14

20Y-54-K3920

COVER

15

01010-51230

BOLT

16

01643-31232

WASHER

17

20Y-54-12550

COLLAR

18

20Y-54-K3490

COVER

19

01010-51230

BOLT

20

01643-31232

WASHER

Выбрано товаров: 20