Запчасти Komatsu PC210LC-5K КАБИНА (ПЕРЕДН. ОКНА) (ДЛЯ PDI) (/) ЧАСТИ КОРПУСА

Схема запчастей Komatsu PC210LC-5K - КАБИНА (ПЕРЕДН. ОКНА) (ДЛЯ PDI) (/) ЧАСТИ КОРПУСА
FIT
1:1
100%

Артикул

Название

Примечание

Количество

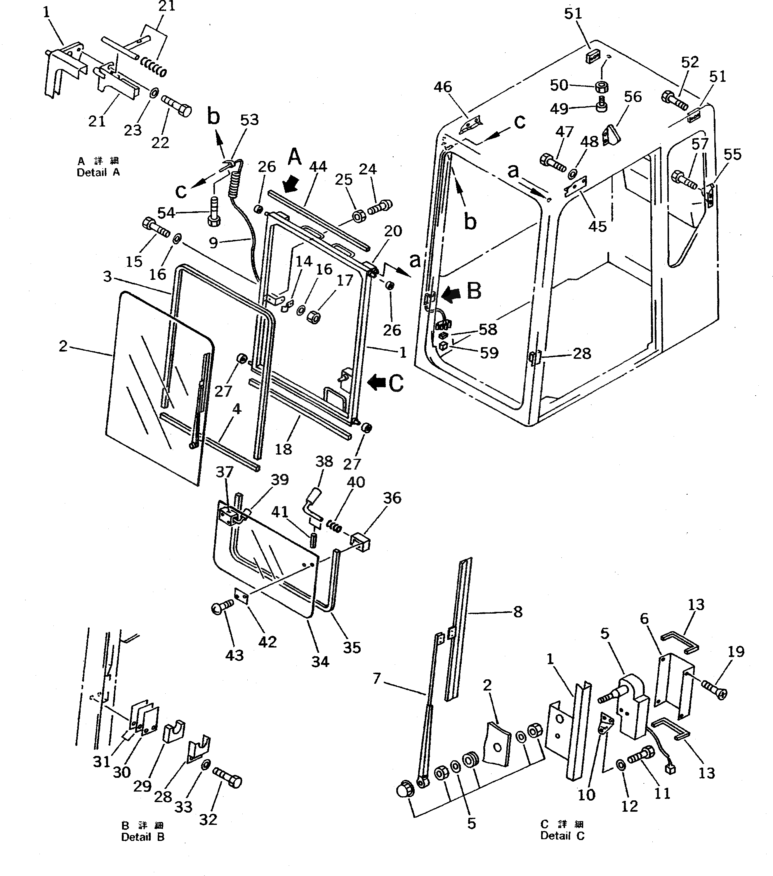
|1

20Y-54-K1601

OPERATOR'S CAB ASS'Y

|1

20Y-54-K1600

OPERATOR'S CAB ASS'Y

|1

20Y-54-K1200

OPERATOR'S CAB ASS'Y

|1

20Y-54-K1620

WINDOW ASS'Y,UPPER

1

20Y-54-K1630

FRAME,WINDOW

2

20Y-54-K1640

GLASS

3

20Y-54-K1650

SEAL,GLAZING

4

20Y-54-K1660

SEAL,GLAZING

5

20Y-54-K1670

WIPER MOTOR ASS'Y

6

20Y-54-K1680

COVER

7

20Y-54-K1690

ARM,WIPER

8

20Y-54-K1730

BLADE,WIPER

9

20Y-54-K1740

WIRING HARNESS

10

20Y-54-K1720

BRACKET

11

01010-50612

BOLT

12

01641-20608

WASHER

13

20Y-54-K1710

TRIM

14

20Y-54-K3330

CLIP

15

01010-50616

BOLT

16

01641-20608

WASHER

17

01598-00608

NUT,LOCK

18

20Y-54-K1770

SEAL

19

01224-40508

SCREW

20

20Y-54-K2681

SHOOT BOLT ASS'Y,L.H.

21

20Y-54-K2691

SHOOT BOLT ASS'Y,R.H.

22

01010-50820

BOLT

23

20Y-54-K3320

WASHER

24

20Y-54-K1780

BUFFER

25

01580-10605

NUT

26

20Y-54-K2330

ROLLER,UPPER

27

20Y-54-K2340

ROLLER,LOWER

28

20Y-54-K1980

SUPPORT

29

20Y-54-K1990

BLOCK

30

20Y-54-K2130

SHIM

31

20Y-54-K2120

SHIM¤ 1.0MM

|31

20Y-54-K2110

SHIM¤ 1.5MM

32

01010-50816

BOLT

33

01641-20812

WASHER

|34

20Y-54-K2140

WINDOW ASS'Y,LOWER

34

20Y-54-K2640

GLASS

35

20Y-54-K2650

SEAL

36

20Y-54-K2660

LOCK MOUNT,L.H.

37

20Y-54-K2670

LOCK MOUNT,R.H.

38

20Y-54-K2680

BOLT,L.H.

39

20Y-54-K2690

BOLT,R.H.

40

20Y-54-K2720

SPRING

41

04025-00416

PIN,SPRING

42

20Y-54-K2710

PLATE

43

01235-40616

SCREW

44

20Y-54-K2420

SEAL

45

20Y-54-K2320

DOVE TAIL,L.H.

46

20Y-54-K2310

DOVE TAIL,R.H.

47

01010-51022

BOLT

48

01641-21016

WASHER

49

20Y-54-K2280

BUFFER

50

01580-10605

NUT

51

20Y-54-K2270

BLOCK

52

01010-50620

BOLT

53

20Y-54-K3330

CLIP

|53

20Y-54-K2470

CLIP

54

20Y-54-K3130

SCREW

|54

20Y-54-K2480

SCREW

55

01641-20508

WASHER

56

20Y-54-K2220

SUPPORT,L.H.

57

20Y-54-K2230

SUPPORT,R.H.

58

20Y-54-K2730

SCREW

59

08056-00630

HOLDER

60

08056-00621

HOLDER

Выбрано товаров: 68