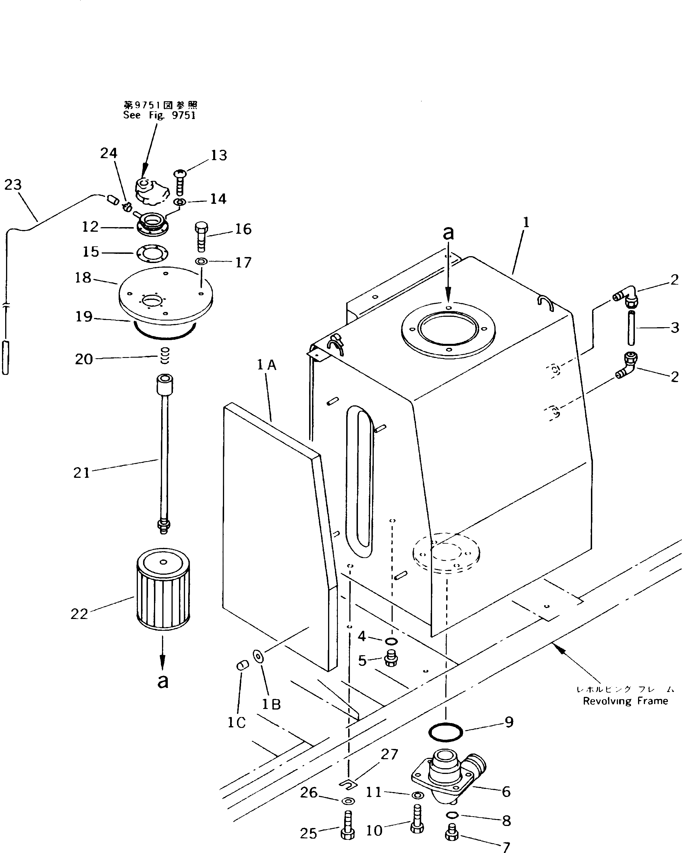
Запчасти Komatsu PC210LC-5K ГИДР. БАК.(№K7-) УПРАВЛ-Е РАБОЧИМ ОБОРУДОВАНИЕМ

Схема запчастей Komatsu PC210LC-5K - ГИДР. БАК.(№K7-) УПРАВЛ-Е РАБОЧИМ ОБОРУДОВАНИЕМ
FIT
1:1
100%

Артикул

Название

Примечание

Количество

|1

20Y-60-00010

HYDRAULIC TANK ASS'Y

1

TANK,HYDRAULIC

1A

20Y-60-K1140

SHEET

1B

205-54-K5371

WASHER

1C

205-54-K5320

CAP

2

208-04-19130

ELBOW

3

203-60-31160

TUBE

4

07002-02434

O-RING

5

07044-12412

PLUG

6

20Y-60-11182

ELBOW

7

07040-11812

PLUG

8

07002-01823

O-RING

9

07000-02100

O-RING

10

01010-51235

BOLT

11

01643-31232

WASHER

12

201-60-12171

FILLER,NECK

13

01220-40516

SCREW

14

01601-20513

WASHER,SPRING

15

205-60-51460

GASKET

16

01010-51235

BOLT

17

01643-31032

WASHER

18

20Y-60-11450

COVER

19

07000-05180

O-RING

20

12R-60-11230

SPRING

21

20Y-60-11130

SUPPORT

22

205-60-51450

STRAINER

23

207-60-11350

TUBE

24

07285-00100

CLIP

25

01010-51635

BOLT

26

01643-31645

WASHER

27

195-03-11570

SHIM¤ 1.0MM

Выбрано товаров: 0