Запчасти Komatsu PC210LC-5K ОПОРНЫЙ ЭЛЕМЕНТ ЛЕНИВЦА ХОД И ХОДОВАЯ

Схема запчастей Komatsu PC210LC-5K - ОПОРНЫЙ ЭЛЕМЕНТ ЛЕНИВЦА ХОД И ХОДОВАЯ
FIT
1:1
100%

Артикул

Название

Примечание

Количество

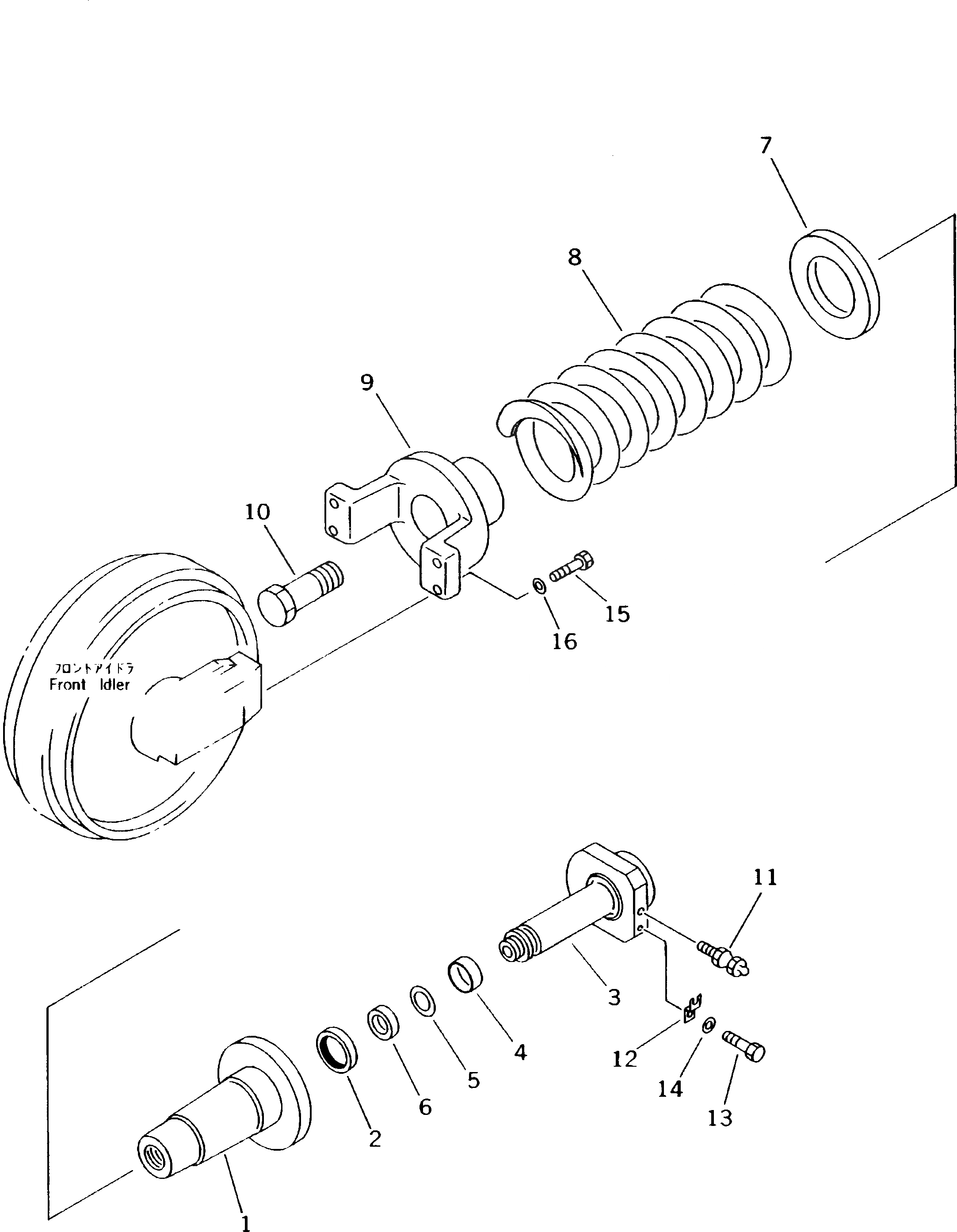
|1

206-30-K1202

CUSHION ASS'Y

|1

206-30-K1201

CUSHION ASS'Y

1

20Y-30-K1390

CYLINDER

2

206-30-55150

SEAL

3

20Y-30-K1431

SHAFT

|3

20Y-30-K1430

SHAFT

4

07155-00720

RING,WEAR

5

20Y-30-K1640

RING,BACK-UP

6

09370-00070

U-PACKING

7

20Y-30-K1630

SPACER

8

20Y-30-K1431

SHAFT

|8

20Y-30-K1680

SPRING

9

20Y-30-K1373

YOKE

|9

20Y-30-K1371

YOKE

10

20Y-30-K1550

COLLAR

11

07959-02000

LUBRICATOR

12

205-30-72170

PLATE

13

01010-51225

BOLT

14

01643-31232

WASHER

15

01010-51665

BOLT

16

01643-31645

WASHER

Выбрано товаров: 21