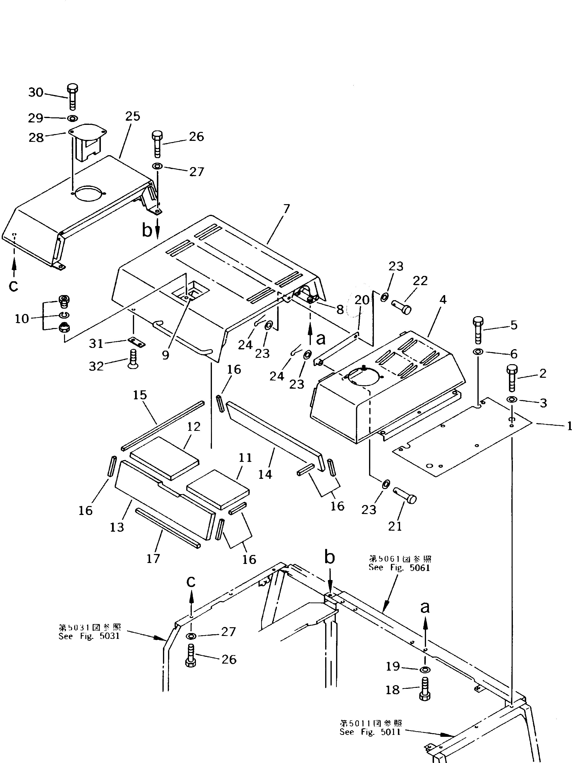
Запчасти Komatsu PC210LC-5K КАПОТ(№K-K7) ЧАСТИ КОРПУСА

Схема запчастей Komatsu PC210LC-5K - КАПОТ(№K-K7) ЧАСТИ КОРПУСА
FIT
1:1
100%

Артикул

Название

Примечание

Количество

1

20Y-54-K2840

COVER

2

01010-51230

BOLT

3

01643-31232

WASHER

4

206-54-58130

COVER

5

01010-51230

BOLT

6

01643-31232

WASHER

7

20Y-54-K1790

COVER

8

20Y-54-12770

HINGE (WELDED)

9

421-54-11372

LOCK ASS'Y (WELDED)

10

421-54-11381

LOCK

11

206-54-K1810

SHEET

12

206-54-K1820

SHEET

13

206-54-K1830

SHEET

14

206-54-K1840

SHEET

15

206-54-58270

SHEET

16

206-54-58280

SHEET

17

20Y-54-18360

SHEET

18

01010-51225

BOLT

19

01643-31232

WASHER

20

20Y-54-18331

BAR

21

04205-11042

PIN

22

04205-11022

PIN

23

01641-21016

WASHER

24

04050-13020

PIN,COTTER

25

206-54-K1711

COVER

26

01010-51230

BOLT

27

01643-31232

WASHER

28

206-54-K1750

PLATE

29

01010-51220

BOLT

30

01643-31232

WASHER

31

205-54-68440

PLATE

32

01224-40616

SCREW

Выбрано товаров: 32