Запчасти Komatsu PC210LC-6 КАБИНА (С POWER СДВИГ. ВВЕРХ ОКНА) (ЭЛЕКТР.) КАБИНА ОПЕРАТОРА И СИСТЕМА УПРАВЛЕНИЯ

Схема запчастей Komatsu PC210LC-6 - КАБИНА (С POWER СДВИГ. ВВЕРХ ОКНА) (ЭЛЕКТР.) КАБИНА ОПЕРАТОРА И СИСТЕМА УПРАВЛЕНИЯ
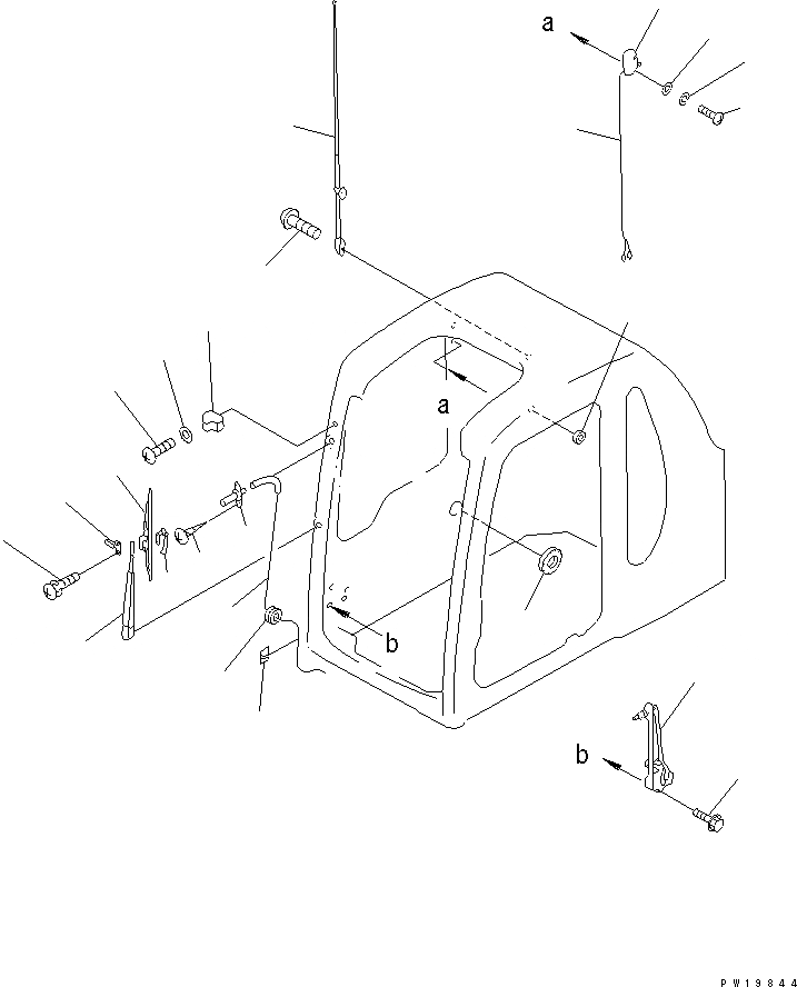
1
2
3
4
5
6
7
9
10
11
12
13
14
15
16
17
18
19
20
21
22
23
24
25
FIT
1:1
100%

Артикул

Название

Примечание

Количество

1

20Y-54-39402

WIPER MOTOR ASS'Y

2

01435-40610

BOLT

2

01435-40610

BOLT

2

01435-30610

BOLT

|$17

20Y-54-39502

WIPER ASS'Y

|$18

20Y-54-39501

WIPER ASS'Y

3

20Y-54-39442

ARM

3

20Y-54-39441

ARM

4

20Y-54-39450

WIPER BLADE

5

20Y-54-39460

SLIDER

6

20Y-54-39480

PLATE

7

ND949007-2350

SCREW AND WASHER

7

ND949007-2540

SCREW AND WASHER

9

20Y-54-39471

STOPPER

10

01220-70620

SCREW

11

01641-20608

WASHER

12

20Y-54-39511

NOZZLE

13

01370-10520

SCREW

14

17M-911-2670

HOSE

15

08037-01008

GROMMET

16

08051-00801

CLIP

17

08141-02400

LAMP

18

01370-00420

SCREW

18

01220-40420

SCREW

19

01601-20410

WASHER

20

01641-20405

WASHER

21

205-06-71550

WIRE

22

20Y-54-36150

GROMMET

23

08912-00000

ANTENNA

24

01220-40420

SCREW

25

08037-01610

GROMMET

Выбрано товаров: 31