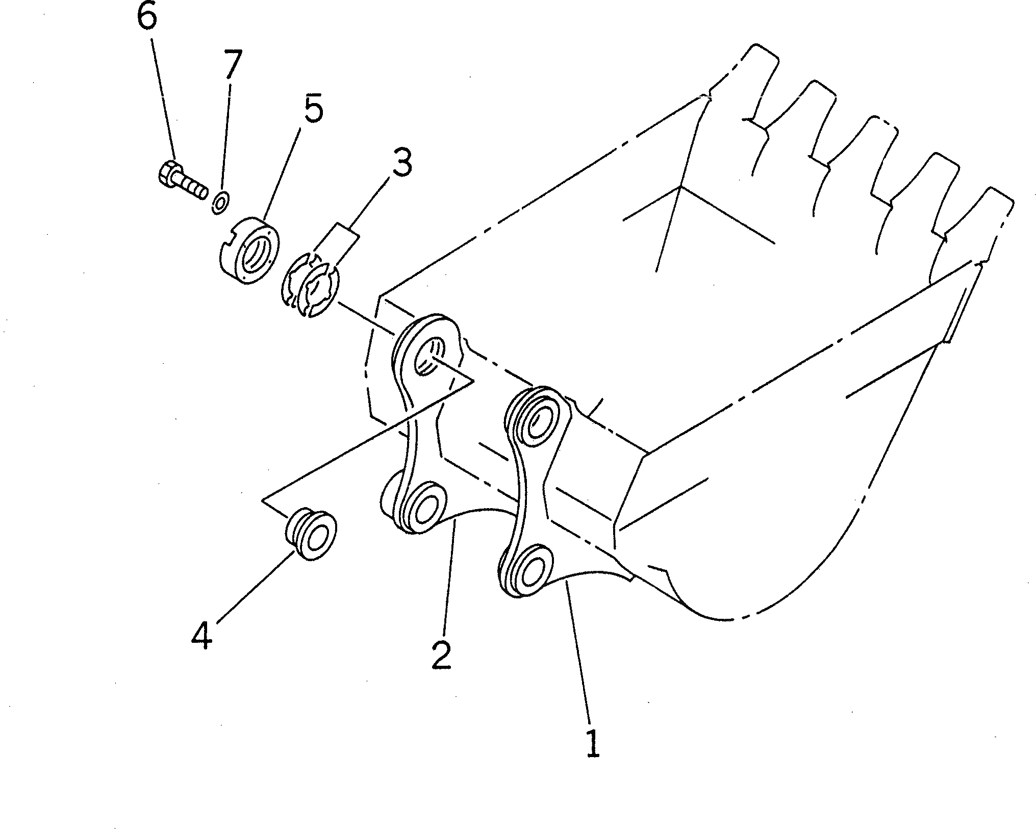
Запчасти Komatsu PC210LC-6 КОВШ КОРПУС (С РЕГУЛЯТОРОМ) РАБОЧЕЕ ОБОРУДОВАНИЕ

Схема запчастей Komatsu PC210LC-6 - КОВШ КОРПУС (С РЕГУЛЯТОРОМ) РАБОЧЕЕ ОБОРУДОВАНИЕ
FIT
1:1
100%

Артикул

Название

Примечание

Количество

1

20Y-920-1310

BRACKET

2

20Y-920-1320

BRACKET

3

205-70-00100

SHIM ASS'Y

3

SHIM, 1.0MM

3

SHIM, 0.5MM

4

205-70-74381

SPACER

5

205-70-74391

PLATE

6

01010-82055

BOLT

6

01010-52055

BOLT

7

01643-32060

WASHER

Выбрано товаров: 10