Запчасти Komatsu PC210LC-6 МОТОР ПОВОРОТА (СОЕДИНИТЕЛЬН. ЧАСТИ)(№-99) ПОВОРОТН. КРУГ И КОМПОНЕНТЫ

Схема запчастей Komatsu PC210LC-6 - МОТОР ПОВОРОТА (СОЕДИНИТЕЛЬН. ЧАСТИ)(№-99) ПОВОРОТН. КРУГ И КОМПОНЕНТЫ
FIT
1:1
100%

Артикул

Название

Примечание

Количество

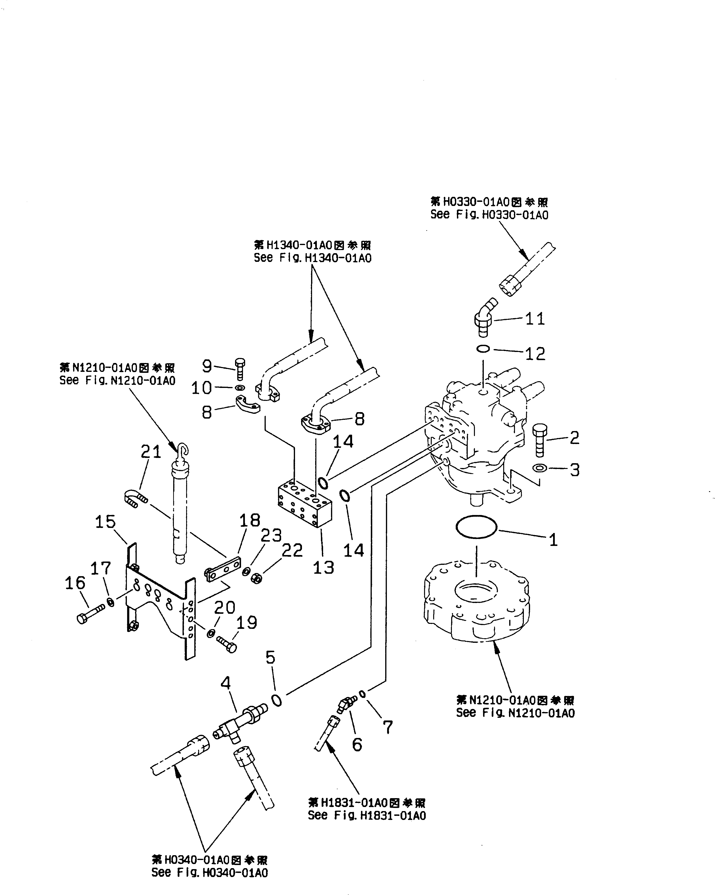
1

07000-02110

O-RING

2

01010-52055

BOLT

3

01643-32060

WASHER

4

20Y-62-21620

TEE

5

07002-02434

O-RING

6

22X-61-18550

ELBOW

7

07002-01423

O-RING

8

07371-30640

FLANGE

9

07372-21035

BOLT

10

01643-51032

WASHER

11

07236-10522

ELBOW

12

07002-02434

O-RING

13

20Y-62-21421

BLOCK

14

21T-09-11450

O-RING

15

20Y-62-21334

BRACKET

|15

20Y-62-21333

BRACKET

16

01010-51080

BOLT

17

01643-51032

WASHER

18

20Y-62-21742

BRACKET

|18

20Y-62-21741

BRACKET

19

01010-51230

BOLT

20

01643-31232

WASHER

21

07283-22738

CLIP

22

01599-01011

NUT

23

01643-31032

WASHER

Выбрано товаров: 25