Запчасти Komatsu PC210LC-6G ТОПЛИВН. БАК.(№-9) ТОПЛИВН. БАК. AND КОМПОНЕНТЫ

Схема запчастей Komatsu PC210LC-6G - ТОПЛИВН. БАК.(№-9) ТОПЛИВН. БАК. AND КОМПОНЕНТЫ
FIT
1:1
100%

Артикул

Название

Примечание

Количество

|1

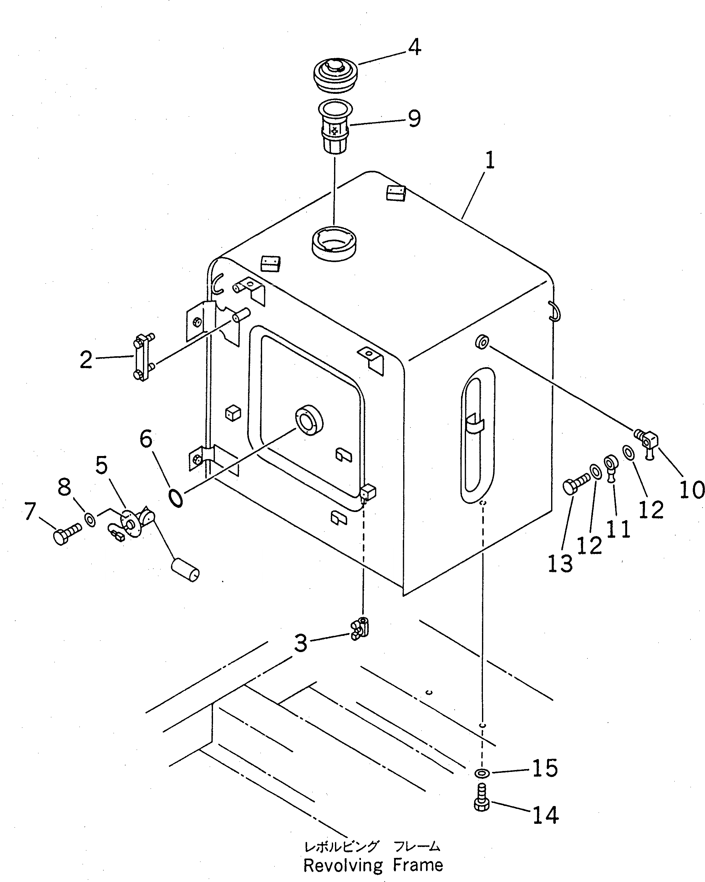
20Y-04-00061

FUEL TANK ASS'Y

1

TANK

2

21S-04-11150

GAUGE

3

07700-50240

VALVE

|3

20Y-04-11130

VALVE

4

20Y-04-11160

CAP

|4

20Y-04-11240

PACKING

5

7861-92-5810

SENSOR

6

07000-03050

O-RING

7

01010-50612

BOLT

8

01643-30623

WASHER

9

205-04-71140

STRAINER

10

20Y-04-21131

ELBOW

11

20Y-04-21141

TUBE

12

07005-00812

GASKET

13

07206-30508

BOLT

14

01010-51635

BOLT

15

01643-31645

WASHER

Выбрано товаров: 18