Запчасти Komatsu PC210LC-6G КАБИНА (ПАНЕЛЬ МОНИТОРА) КАБИНА ОПЕРАТОРА И СИСТЕМА УПРАВЛЕНИЯ

Схема запчастей Komatsu PC210LC-6G - КАБИНА (ПАНЕЛЬ МОНИТОРА) КАБИНА ОПЕРАТОРА И СИСТЕМА УПРАВЛЕНИЯ
FIT
1:1
100%

Артикул

Название

Примечание

Количество

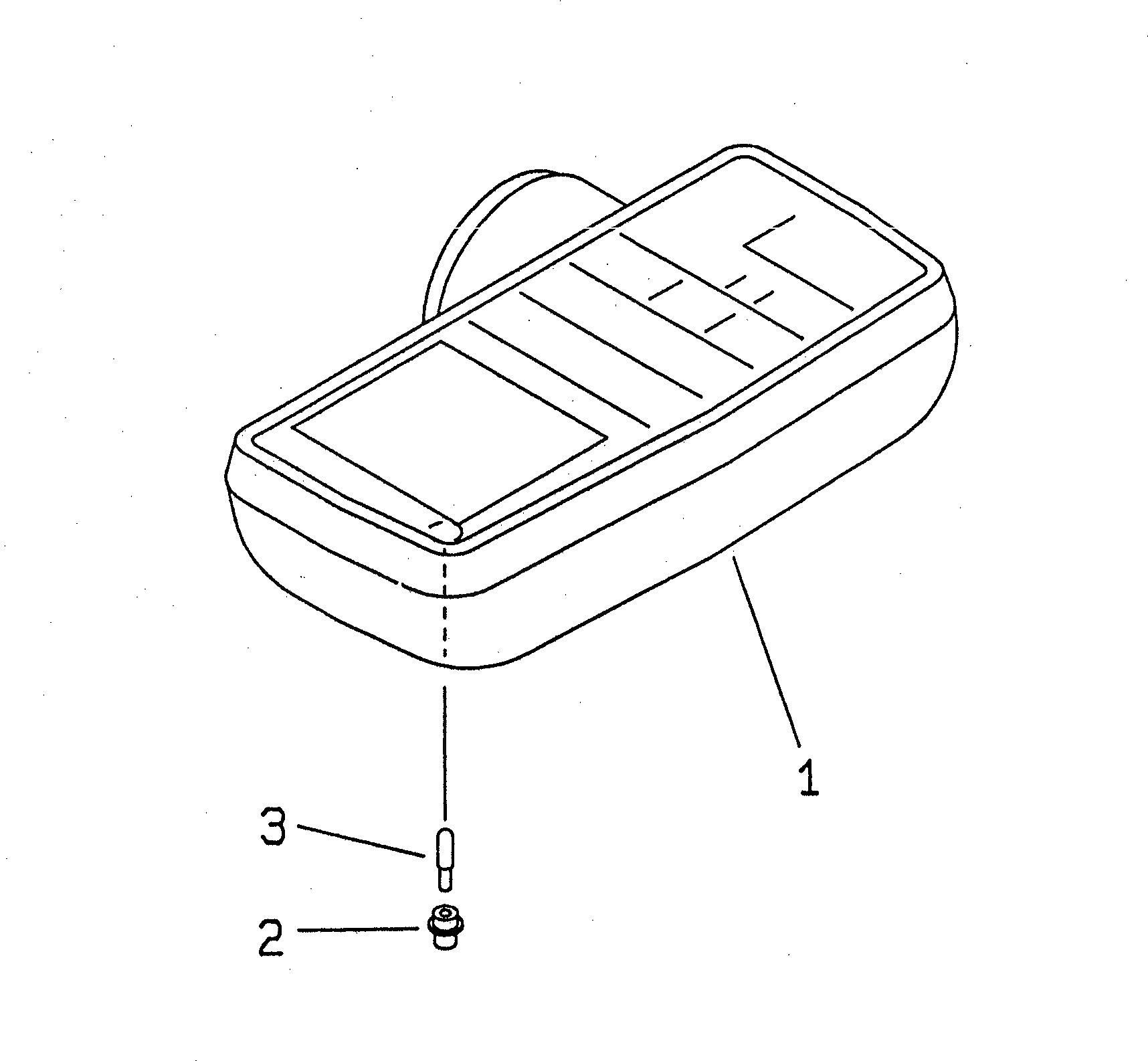
|1

7834-70-7002

MONITOR ASS'Y

|1

7834-70-7001

MONITOR ASS'Y

|1

7834-70-7000

MONITOR ASS'Y

|1

7834-70-3002

MONITOR ASS'Y

|1

7834-70-3000

MONITOR ASS'Y

1

7834-70-7100

MONITOR

|1

7834-70-3102

MONITOR

|1

7834-70-3100

MONITOR

2

7861-01-1820

SOCKET

|2

7861-01-1820

SOCKET

3

7815-11-1010

BULB¤ 1.4W

|3

7815-11-1010

BULB¤ 1.4W

Выбрано товаров: 12