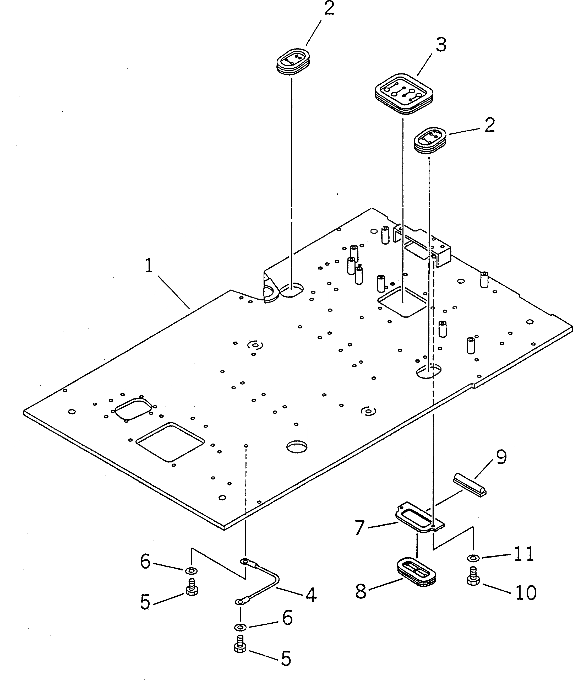
Запчасти Komatsu PC210LC-6G ОСНОВН. КОНСТРУКЦИЯ (ЭЛЕКТРИЧ. РЕГУЛЯТОР) (РАБОЧ. РЫЧАГ С КЛАПАН EPC)(№-9) КАБИНА ОПЕРАТОРА И СИСТЕМА УПРАВЛЕНИЯ

Схема запчастей Komatsu PC210LC-6G - ОСНОВН. КОНСТРУКЦИЯ (ЭЛЕКТРИЧ. РЕГУЛЯТОР) (РАБОЧ. РЫЧАГ С     КЛАПАН EPC)(№-9) КАБИНА ОПЕРАТОРА И СИСТЕМА УПРАВЛЕНИЯ
FIT
1:1
100%

Артикул

Название

Примечание

Количество

1

20Y-54-36991

FRAME

2

20Y-43-21831

GROMMET

3

20Y-43-21841

GROMMET

4

08028-43030

CABLE

5

01010-51016

BOLT

6

01643-31032

WASHER

7

20Y-54-36581

PLATE

8

20Y-54-36591

GROMMET

9

20Y-54-36611

SEAL

10

01010-51016

BOLT

11

01643-31032

WASHER

Выбрано товаров: 11