Запчасти Komatsu PC210LC-6G РАБОЧАЯ ЛИНИЯ PPC (РАБОЧАЯ ЛИНИЯ PPC БЛОК И EPC КОРПУС) ( АКТУАТОР) (EPC)(№-9) КАБИНА ОПЕРАТОРА И СИСТЕМА УПРАВЛЕНИЯ

Схема запчастей Komatsu PC210LC-6G - РАБОЧАЯ ЛИНИЯ PPC (РАБОЧАЯ ЛИНИЯ PPC БЛОК И EPC КОРПУС) ( АКТУАТОР) (EPC)(№-9) КАБИНА ОПЕРАТОРА И СИСТЕМА УПРАВЛЕНИЯ
FIT
1:1
100%

Артикул

Название

Примечание

Количество

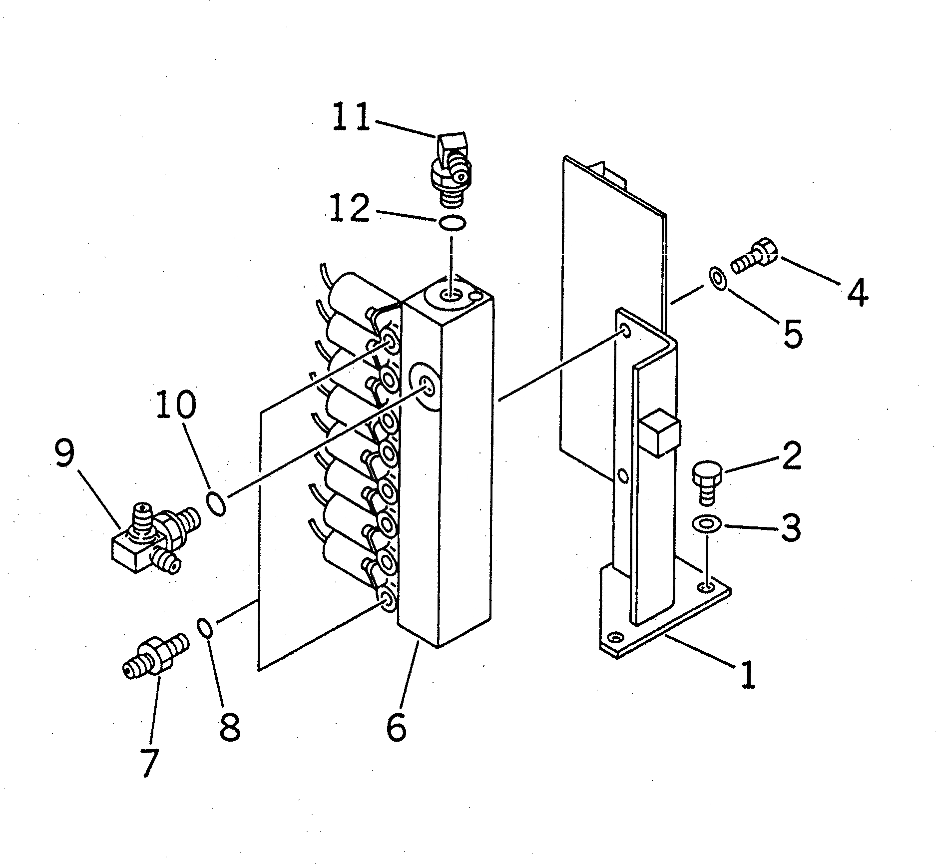
1

20Y-62-22243

BRACKET

2

01010-51225

BOLT

3

01643-31232

WASHER

4

01010-51025

BOLT

5

01643-31032

WASHER

6

702-21-07081

VALVE ASS'Y

|6

702-21-07080

VALVE ASS'Y

7

203-62-62810

NIPPLE

|7

20Y-62-23470

NIPPLE

8

07002-01423

O-RING

9

20Y-62-23520

TEE

10

07002-02034

O-RING

11

07235-10315

ELBOW

12

07002-02034

O-RING

Выбрано товаров: 0