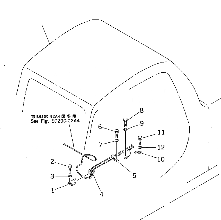
Запчасти Komatsu PC210LC-6G ЭЛЕКТРОПРОВОДКА (КРЕПЛЕНИЕ) (РАДИО УПРАВЛ-Е СПЕЦ-Я.)(№-9) ЭЛЕКТРИКА

Схема запчастей Komatsu PC210LC-6G - ЭЛЕКТРОПРОВОДКА (КРЕПЛЕНИЕ) (РАДИО УПРАВЛ-Е СПЕЦ-Я.)(№-9) ЭЛЕКТРИКА
FIT
1:1
100%

Артикул

Название

Примечание

Количество

1

20Y-06-21561

PLATE

2

01010-51225

BOLT

3

01643-31232

WASHER

4

21T-06-73320

GROMMET

5

20Y-62-15891

CLIP

|5

154-06-13780

CLAMP

6

01010-51225

BOLT

7

01643-31232

WASHER

8

01010-51225

BOLT

9

01643-31232

WASHER

10

08053-01512

CLIP

11

01010-51225

BOLT

12

01643-31232

WASHER

Выбрано товаров: 13