Запчасти Komatsu PC210LC-6G ЭЛЕКТРОПРОВОДКА (ЭЛЕКТРОНН. Э/ПРОВОДКА)(№-9) ЭЛЕКТРИКА

Схема запчастей Komatsu PC210LC-6G - ЭЛЕКТРОПРОВОДКА (ЭЛЕКТРОНН. Э/ПРОВОДКА)(№-9) ЭЛЕКТРИКА
FIT
1:1
100%

Артикул

Название

Примечание

Количество

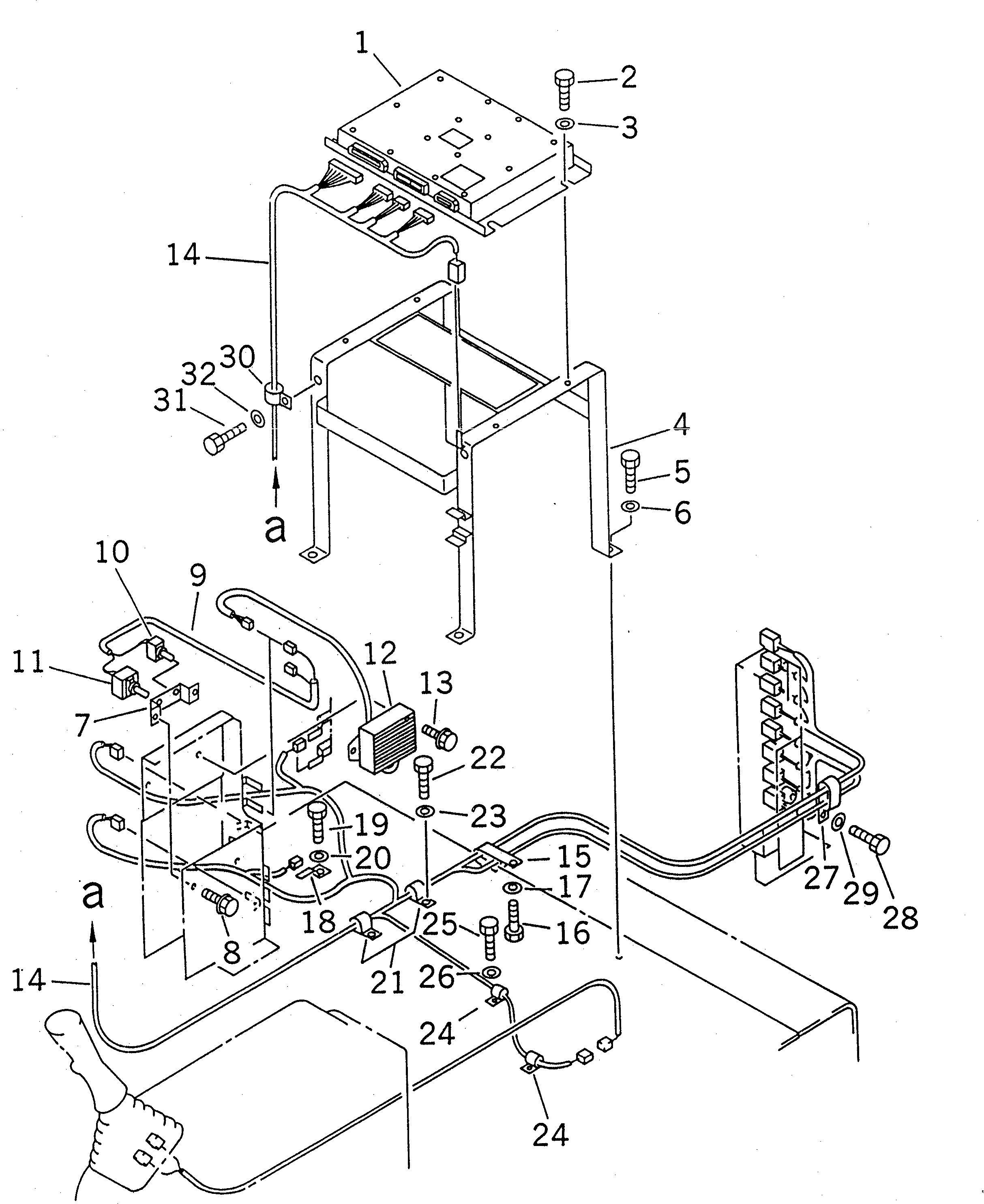
1

7834-60-2002

CONTROLLER,EPC

|1

7834-60-2001

CONTROLLER,EPC

|1

7834-60-2000

CONTROLLER,EPC

2

01010-51025

BOLT

3

01643-31032

WASHER

4

20Y-06-21631

BRACKET

5

01010-51025

BOLT

6

01643-31032

WASHER

7

20Y-06-23580

PLATE

8

01435-00616

BOLT

9

20Y-06-23590

WIRING HARNESS

10

20Y-06-23350

SWITCH

11

20Y-06-24150

SWITCH

12

206-06-52130

RESISTOR

13

01435-00816

BOLT

14

20Y-06-21142

HARNESS

15

421-07-11550

CLIP

16

01010-51225

BOLT

17

01643-31232

WASHER

18

08053-01512

CLIP

19

01010-51225

BOLT

20

01643-31232

WASHER

21

08036-02514

CLIP

22

01010-51225

BOLT

23

01643-31232

WASHER

24

08036-01214

CLIP

25

01010-51220

BOLT

26

01643-31232

WASHER

27

421-07-11550

CLIP

|27

20Y-06-11630

CLIP

28

01010-51225

BOLT

29

01643-31232

WASHER

30

198-03-12560

CLIP

31

01010-51025

BOLT

32

01643-31032

WASHER

Выбрано товаров: 35