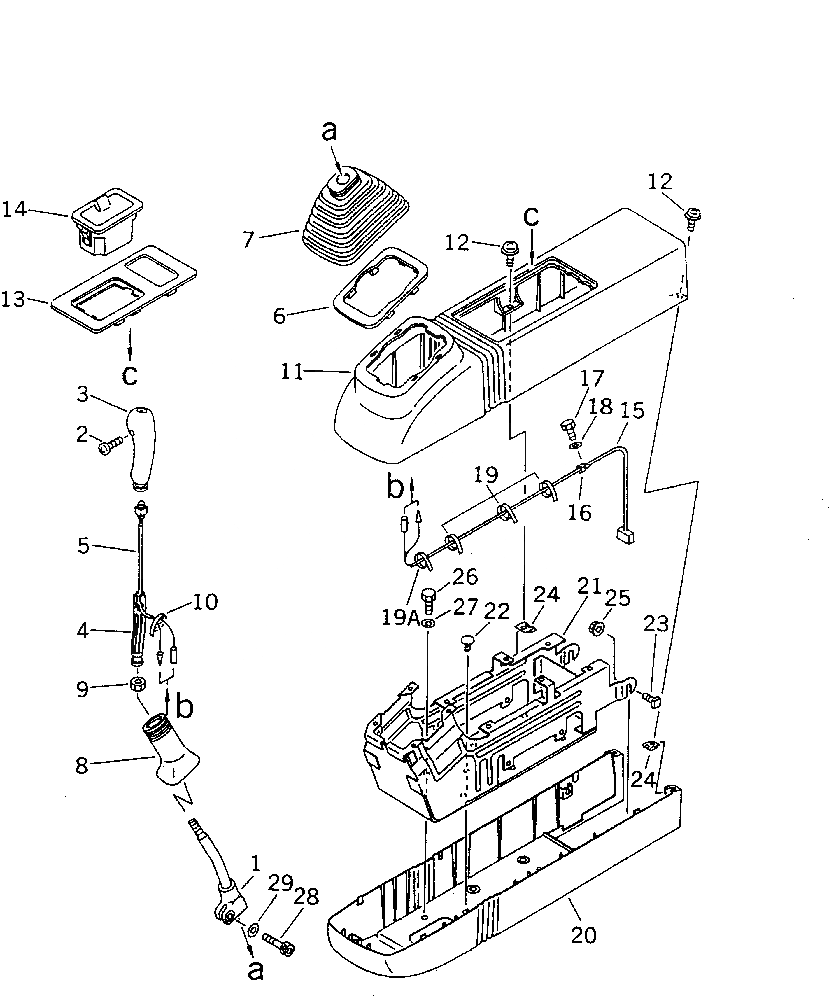
Запчасти Komatsu PC210LC-6K ЛЕВ. СТОЙКА (РЫЧАГ И COVER) (РЫЧАГ С КЛАПАНОМ PPC)(№K-K999) КАБИНА ОПЕРАТОРА И СИСТЕМА УПРАВЛЕНИЯ

Схема запчастей Komatsu PC210LC-6K - ЛЕВ. СТОЙКА (РЫЧАГ И COVER) (РЫЧАГ С КЛАПАНОМ PPC)(№K-K999) КАБИНА ОПЕРАТОРА И СИСТЕМА УПРАВЛЕНИЯ
FIT
1:1
100%

Артикул

Название

Примечание

Количество

|1

20Y-43-22780

LEVER ASS'Y,L.H.

1

20Y-43-22810

LEVER,L.H.

|2

20Y-43-22232

KNOB,L.H.

2

01370-10308

SCREW

3

20Y-43-22381

KNOB

4

20Y-43-22420

INSERT

5

20Y-43-22430

SWITCH,L.H.

6

20Y-43-22250

PLATE

7

20Y-43-22261

BOOT

8

20Y-43-22830

BOOT

9

600-411-1280

NUT

10

08034-00310

BAND

11

20Y-43-22121

CASE

12

20Y-43-16590

SCREW

|13

20Y-43-22850

COVER

13

20Y-43-22152

COVER,L.H.

14

20Y-06-21751

ASHTRAY

15

20Y-06-21350

WIRING HARNESS

16

424-06-12850

CLIP

17

01010-50820

BOLT

18

01643-30823

WASHER

19

08034-00519

BAND

19A

08034-00310

BAND

|20

20Y-43-21651

COVER ASS'Y

20

20Y-43-22111

CASE

21

20Y-43-22131

FRAME

22

20Y-43-22310

CLIP

23

20Y-43-22470

BOLT

24

20Y-43-22480

SPRING

25

198-911-5530

NUT

26

01010-51030

BOLT

27

01643-31032

WASHER

28

01252-41025

BOLT

29

01643-31032

WASHER

Выбрано товаров: 34