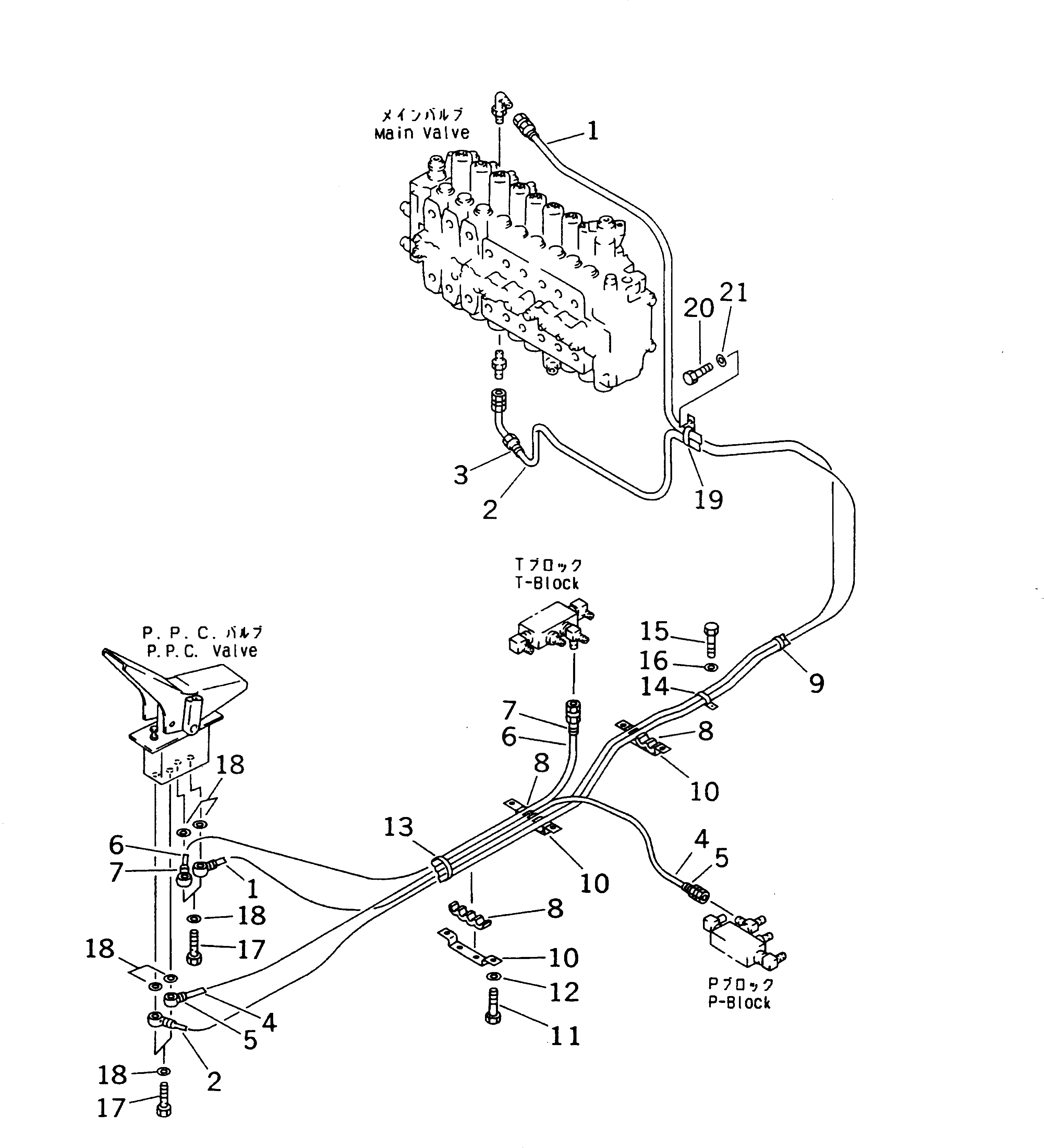
Запчасти Komatsu PC210LC-6K ЛИНИЯ РАБОЧЕГО ОБОРУД. PPC (EPC) ( АКТУАТОР)(№K-K999) КАБИНА ОПЕРАТОРА И СИСТЕМА УПРАВЛЕНИЯ

Схема запчастей Komatsu PC210LC-6K - ЛИНИЯ РАБОЧЕГО ОБОРУД. PPC (EPC) ( АКТУАТОР)(№K-K999) КАБИНА ОПЕРАТОРА И СИСТЕМА УПРАВЛЕНИЯ
FIT
1:1
100%

Артикул

Название

Примечание

Количество

1

20Y-62-K2241

HOSE

2

20Y-62-K2251

HOSE¤ 2000MM,YELLOW

3

20Y-62-22810

BAND

4

20Y-62-K2890

HOSE

5

20Y-62-22790

BAND¤ RED

6

20Y-62-K2910

HOSE

7

20Y-62-22820

BAND¤ BLUE

8

20Y-62-22170

CLAMP

9

08034-00536

BAND

10

20Y-62-29180

CLAMP

11

01010-51016

BOLT

12

01643-31032

WASHER

13

08034-00536

BAND

14

21T-72-23270

CLIP

15

01010-51225

BOLT

16

01643-31032

WASHER

17

20Y-970-K180

BOLT

18

20G-62-K2510

WASHER

19

08053-01512

CLIP

20

01010-51230

BOLT

21

01643-31232

WASHER

Выбрано товаров: 21