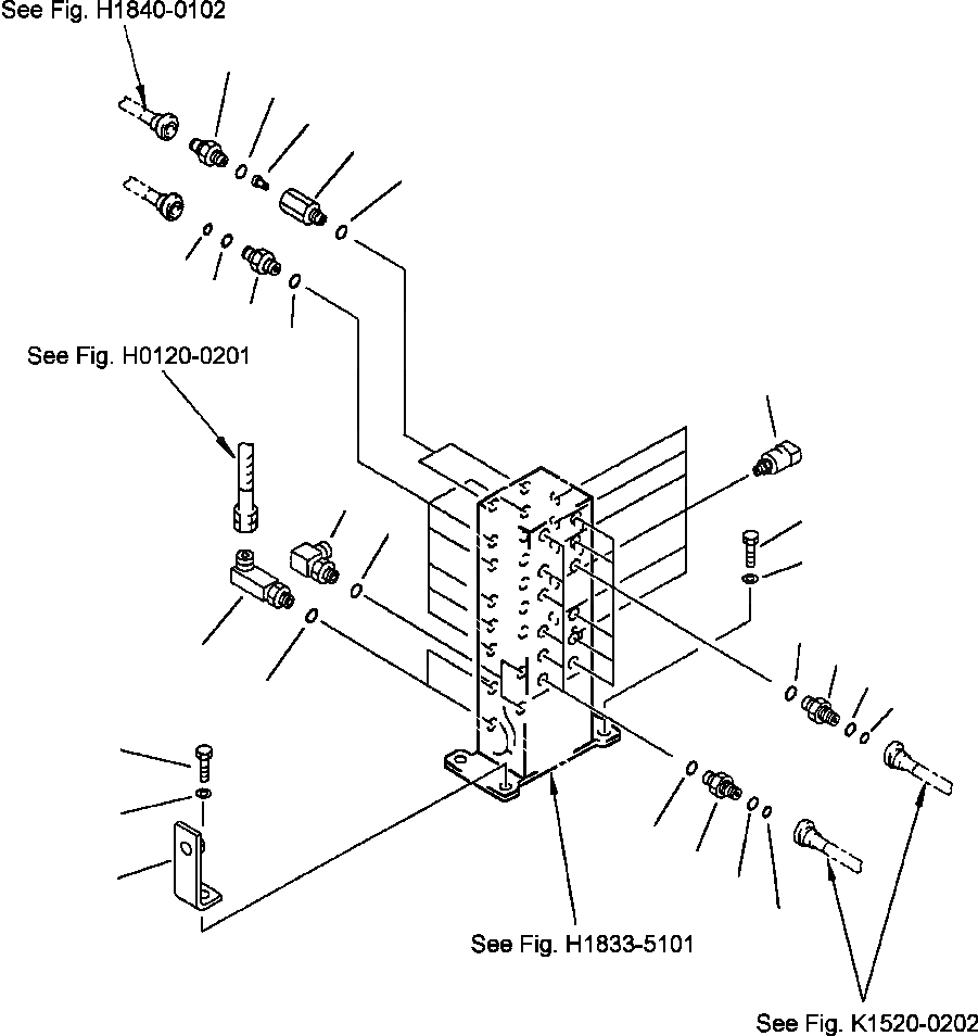
Запчасти Komatsu PC210LC-6L FIG NO. H8- ГИДРОЛИНИЯ, РАСПРЕДЕЛИТ. КЛАПАН (С ДАТЧИКОМ) PCLC- заводской номер A8 THRU A8 ГИДРАВЛИКА

Схема запчастей Komatsu PC210LC-6L - FIG NO. H8- ГИДРОЛИНИЯ, РАСПРЕДЕЛИТ. КЛАПАН (С ДАТЧИКОМ) PCLC- заводской номер A8 THRU A8 ГИДРАВЛИКА
16
17
14
15
18
11
12
10
13
19
6
1
7
2
13
10
8
12
11
9
4
5
13
10
3
12
11
FIT
1:1
100%

Артикул

Название

Примечание

Количество

1

01010-51025

BOLT

2

01643-31032

WASHER

3

198-06-46230

BRACKET

4

01010-51030

BOLT

5

01643-31032

WASHER

6

207-62-33920

ELBOW

7

07002-11423

O-RING

8

20Y-970-1741

ELBOW

9

07002-11423

O-RING

10

20Y-62-16630

NIPPLE

11

201-60-11390

O-RING

12

20Y-62-19560

O-RING

13

07002-01423

O-RING

|$13

20Y-60-22201

VALVE ASSEMBLY, SHUTTLE

14

20Y-60-11750

POPPET

15

NSS

BODY

16

20Y-62-22410

NIPPLE

17

07002-01423

O-RING

18

07002-01423

O-RING

19

20Y-06-21710

SWITCH, PRESSURE

Выбрано товаров: 20