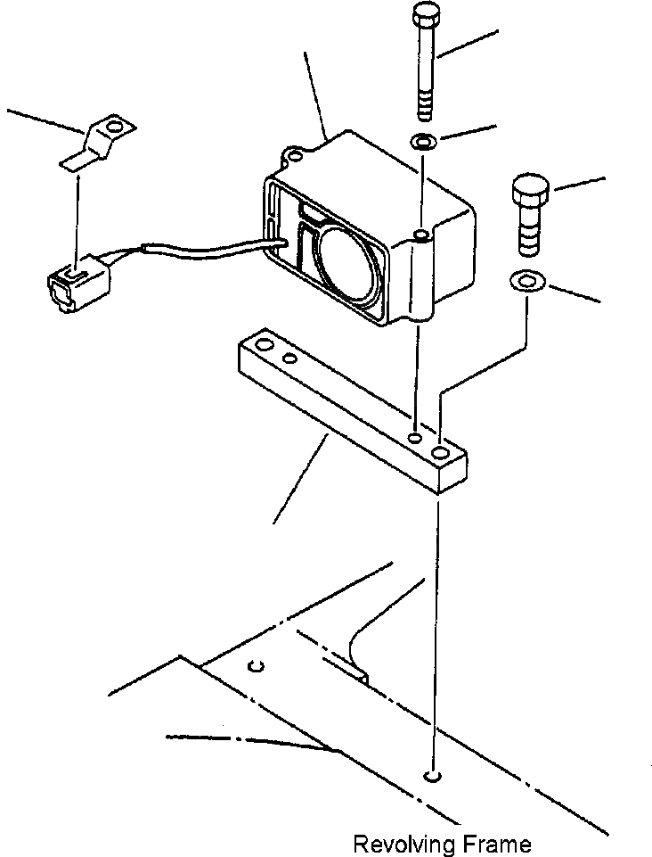
Запчасти Komatsu PC210LC-6L FIG NO. E- СИГНАЛ ХОДА ЭЛЕКТРИКА

Схема запчастей Komatsu PC210LC-6L - FIG NO. E- СИГНАЛ ХОДА ЭЛЕКТРИКА
3
1
2
4
6
7
5
FIT
1:1
100%

Артикул

Название

Примечание

Количество

1

20Y-06-21730

ALARM, TRAVEL

2

08053-01512

CLIP

3

01011-51000

BOLT

4

01643-31032

WASHER

5

20Y-06-21770

PLATE

6

01010-51245

BOLT

7

01643-31232

WASHER

Выбрано товаров: 7