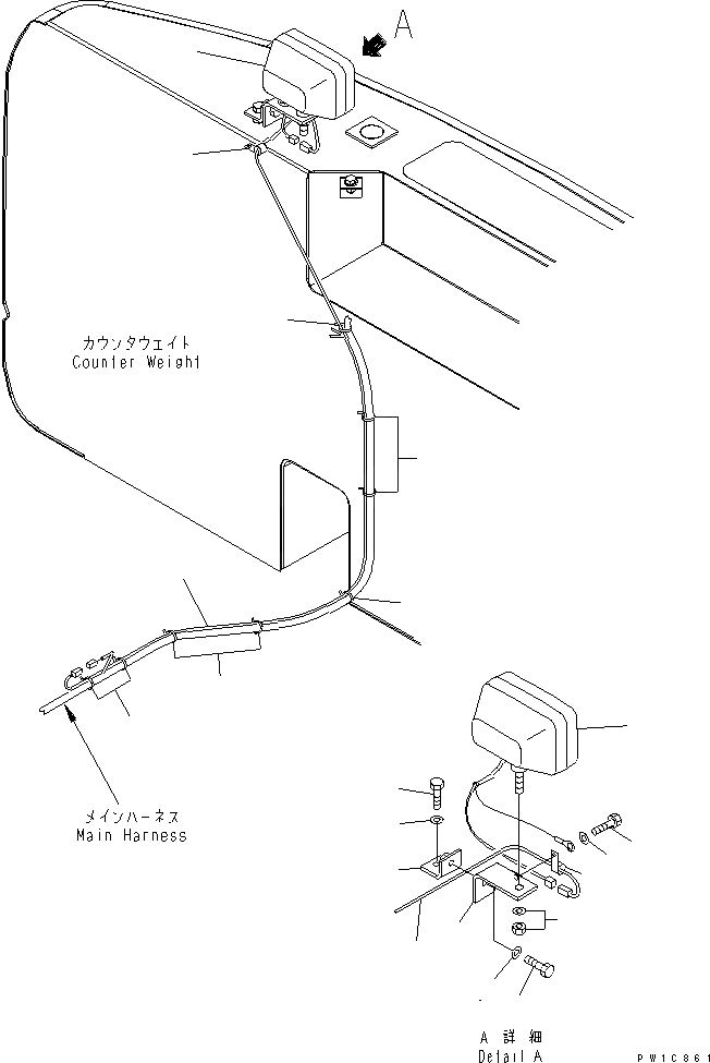
Запчасти Komatsu PC210LC-7-DA ЗАДН. WARK ОСВЕЩЕНИЕ ЭЛЕКТРИКА

Схема запчастей Komatsu PC210LC-7-DA - ЗАДН. WARK ОСВЕЩЕНИЕ ЭЛЕКТРИКА
1
1
1
2
3
3
4
4
5
5
6
7
8
9
9
10
10
10
10
10
FIT
1:1
100%

Артикул

Название

Примечание

Количество

1

20Y-06-25310

WORK LAMP ASS'Y

|1

421-06-23330

BULB¤ 70W

2

20Y-06-21551

BRACKET

3

21T-38-12270

CLIP

4

01010-81225

BOLT

5

01643-31232

WASHER

6

20Y-06-21590

BRACKET

7

01010-81225

BOLT

8

01643-31232

WASHER

9

20Y-06-31670

WIRE

10

08034-20536

BAND

Выбрано товаров: 11