Запчасти Komatsu PC210LC-8K -НАВЕСНОЕ ОБОРУД-Е (/) (ДЛЯ .M РУКОЯТЬ) (№K-K) T РАБОЧЕЕ ОБОРУДОВАНИЕ

Схема запчастей Komatsu PC210LC-8K - -НАВЕСНОЕ ОБОРУД-Е (/) (ДЛЯ .M РУКОЯТЬ) (№K-K) T РАБОЧЕЕ ОБОРУДОВАНИЕ
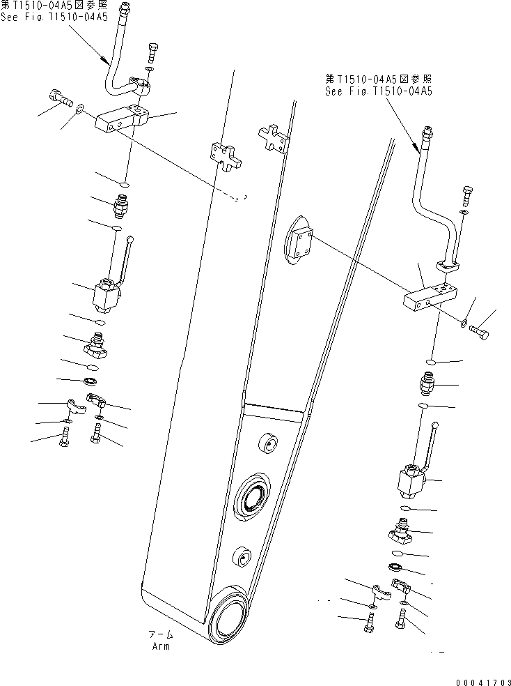
1
2
3
4
5
5
6
7
8
9
10
11
11
12
12
13
13
14
15
16
17
18
18
19
20
21
22
23
24
24
25
25
26
26
FIT
1:1
100%

Артикул

Название

Примечание

Количество

1

20Y-62-53310

PLATE

2

01010-81280

BOLT

3

01643-31232

WASHER

4

20E-62-K1930

UNION

5

07002-12434

O-RING

6

20G-60-K1740

VALVE

7

21K-62-34310

FLANGE

8

07002-12434

O-RING

9

07378-10600

HEAD

10

07000-13025

O-RING

11

07371-30640

FLANGE, SPLIT

12

07372-21035

BOLT

13

01643-51032

WASHER

14

20Y-62-53320

PLATE

15

01010-81290

BOLT

16

01643-31232

WASHER

17

20E-62-K1930

UNION

18

07002-12434

O-RING

19

20G-60-K1740

VALVE

20

21K-62-34310

FLANGE

21

07002-12434

O-RING

22

07378-10600

HEAD

23

07000-13025

O-RING

24

07371-30640

FLANGE, SPLIT

25

07372-21035

BOLT

26

01643-51032

WASHER

Выбрано товаров: 26