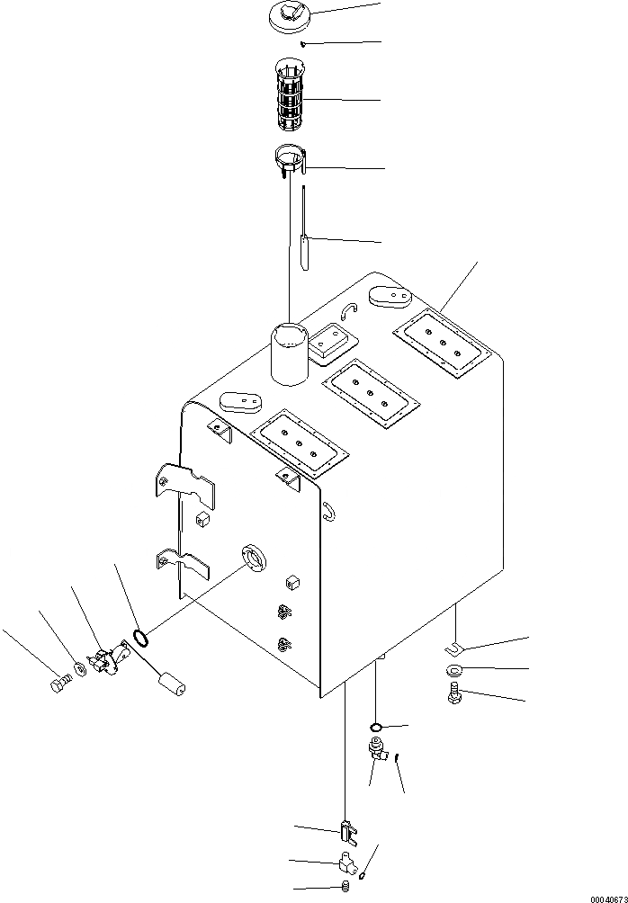
Запчасти Komatsu PC210NLC-8K ТОПЛИВН. БАК. (№K-K9) D ТОПЛИВН. БАК. AND КОМПОНЕНТЫ

Схема запчастей Komatsu PC210NLC-8K - ТОПЛИВН. БАК. (№K-K9) D ТОПЛИВН. БАК. AND КОМПОНЕНТЫ
6
12
14
11
13
1
20
19
18
16
17
15
8
7
10
9
2
3
4
5
FIT
1:1
100%

Артикул

Название

Примечание

Количество

1

20Y-04-48112

TANK

2

07700-50240

VALVE, FUEL DRAIN

3

20Y-04-41231

ELBOW

4

07043-A0108

PLUG

5

02896-11009

O-RING

6

20Y-04-11160

CAP

7

7861-92-5810

SENSOR

8

07000-13050

O-RING

9

01010-80612

BOLT

10

01643-30623

WASHER

|11

22U-04-21241

STRAINER ASSEMBLY

|11

22U-04-21200

FLOAT ASSEMBLY

11

22U-04-21210

GUIDE

12

20Y-04-21580

CAP

13

22U-04-21220

FLOAT

14

07056-18425

STRAINER

15

02782-10315

ELBOW

16

07002-12034

O-RING

17

02896-11009

O-RING

18

01010-81635

BOLT

19

01643-31645

WASHER

20

195-03-11570

SHIM, 1.0MM

Выбрано товаров: 0