Запчасти Komatsu PC220-1 УДЛИНН. РУКОЯТЬ ОПЦИОННЫЕ КОМПОНЕНТЫ

Схема запчастей Komatsu PC220-1 - УДЛИНН. РУКОЯТЬ ОПЦИОННЫЕ КОМПОНЕНТЫ
FIT
1:1
100%

Артикул

Название

Примечание

Количество

|$0

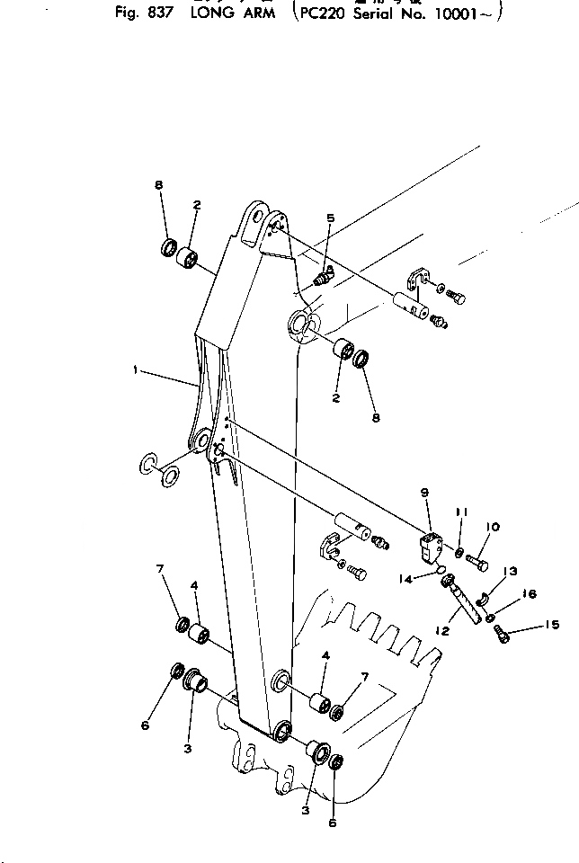
206-943-0010

LONG ARM ASS'Y

1

206-943-1110

ARM

2

205-70-66140

BUSHING

3

205-70-63141

BUSHING

4

205-70-67150

BUSHING

5

07020-00675

FITTING

6

205-70-62150

SEAL

7

205-70-62140

SEAL

8

07145-00100

SEAL

9

206-943-1120

BLOCK

10

01010-31270

BOLT

11

01643-31232

WASHER

12

07126-21012

HOSE

13

07371-21049

FLANGE

14

07000-13032

O-RING

15

07372-01030

BOLT

16

01643-31032

WASHER

16

01602-01030

WASHER

Выбрано товаров: 0