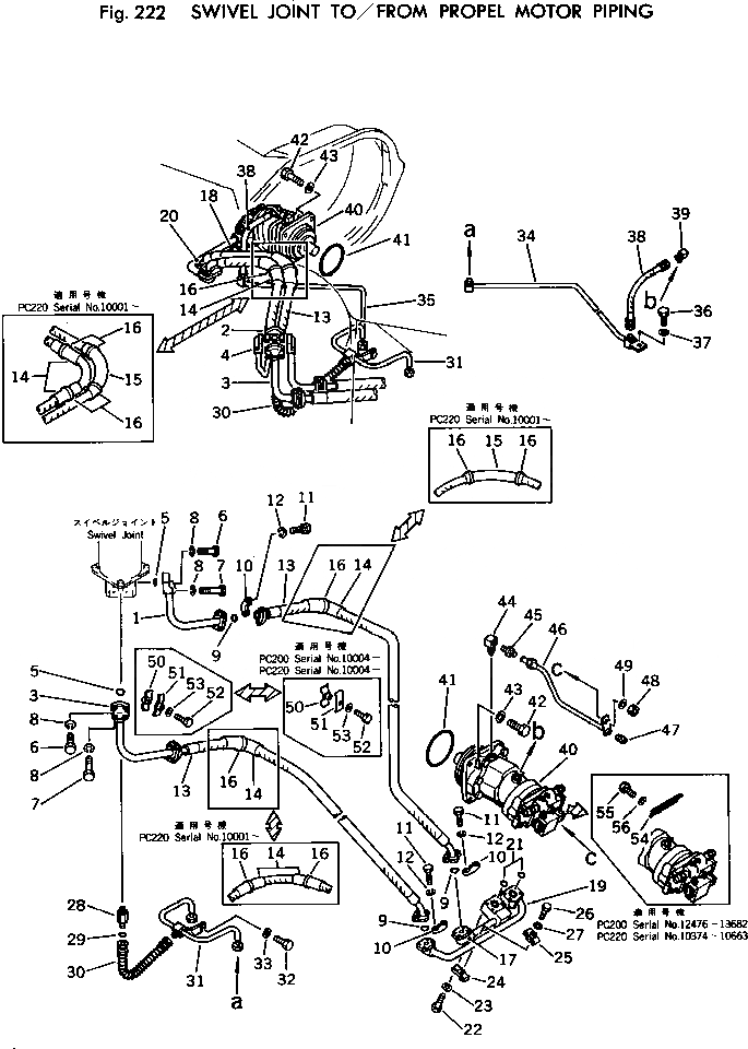
Запчасти Komatsu PC220-1 ПОВОРОТНОЕ СОЕДИНЕНИЕ TO/FROM PКАНАТL МОТОР ТРУБЫ ХОД И КОНЕЧНАЯ ПЕРЕДАЧА

Схема запчастей Komatsu PC220-1 - ПОВОРОТНОЕ СОЕДИНЕНИЕ TO/FROM PКАНАТL МОТОР ТРУБЫ ХОД И КОНЕЧНАЯ ПЕРЕДАЧА
FIT
1:1
100%

Артикул

Название

Примечание

Количество

1

205-62-63511

TUBE,L.H.

1

205-62-63510

TUBE,L.H.

2

205-62-63521

TUBE,R.H.

2

205-62-63520

TUBE,R.H.

3

205-62-63531

TUBE,L.H.

3

205-62-63530

TUBE,L.H.

4

205-62-63541

TUBE,R.H.

4

205-62-63540

TUBE,R.H.

5

07000-13030

O-RING

6

01010-30835

BOLT

7

01010-30850

BOLT

8

01643-30823

WASHER

8

01602-00825

WASHER

9

07000-13025

O-RING

10

07371-20638

FLANGE

11

01010-30830

BOLT

12

01643-30823

WASHER

12

01602-00825

WASHER

13

07126-00616

HOSE

13

07126-00617

HOSE

14

205-62-53780

COVER

15

205-09-51170

COVER

16

08034-00536

BAND

16

08034-00536

BAND

17

205-62-63550

TUBE,L.H.

18

205-62-63560

TUBE,R.H.

19

205-62-63570

TUBE,L.H.

20

205-62-63580

TUBE,R.H.

21

07000-13030

O-RING

22

01010-31060

BOLT

23

01643-31032

WASHER

24

176-62-13290

CLIP

25

176-62-13310

CLIP

26

01010-31050

BOLT

27

01643-31032

WASHER

28

201-62-15340

NIPPLE

29

07002-02034

O-RING

30

07103-20305

HOSE

31

205-62-63611

TUBE

31

206-62-42111

TUBE

32

01010-31025

BOLT

33

01643-31032

WASHER

34

205-62-63620

TUBE

34

206-62-42120

TUBE

35

205-62-63630

TUBE

35

206-62-42130

TUBE

36

01010-31025

BOLT

37

01643-31032

WASHER

38

07102-20303

HOSE

39

205-62-53461

ELBOW

40

706-75-30905

MOTOR ASS'Y

40

706-75-30904

MOTOR ASS'Y

41

07000-05175

O-RING

42

01010-31450

BOLT

43

01643-31445

WASHER

44

205-62-53391

ELBOW

44

205-62-53390

ELBOW

45

07213-50610

CONNECTOR

45

07214-50610

CONNECTOR

46

205-62-53914

TUBE

46

205-62-53913

TUBE

47

07042-30108

PLUG

47

07042-00108

PLUG

48

01580-01210

NUT

49

01643-31232

WASHER

50

21K-62-15250

CLIP

50

176-62-13290

CLIP

51

21K-62-15260

CLAMP

51

176-62-13310

CLIP

52

01010-31225

BOLT

52

01010-31050

BOLT

53

01643-31232

WASHER

53

01643-31032

WASHER

54

205-60-51510

PLATE

55

01010-31220

BOLT

56

01602-01236

WASHER

Выбрано товаров: 0