Запчасти Komatsu PC220-1 ГУСЕНИЧНАЯ РАМА ХОДОВАЯ

Схема запчастей Komatsu PC220-1 - ГУСЕНИЧНАЯ РАМА ХОДОВАЯ
FIT
1:1
100%

Артикул

Название

Примечание

Количество

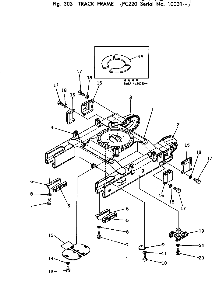
1

206-30-42111

FRAME

2

205-30-61530

CASE (WELDED)

3

205-30-61540

CASE (WELDED)

4

205-30-65570

SUPPORT (WELDED)

4A

21K-30-21130

PLATE

5

205-30-62511

GUARD,L.H. OUTER, R.H. INNER

6

205-30-62521

GUARD,L.H. INNER, R.H. OUTER

7

01010-31645

BOLT

8

01643-31645

WASHER

9

203-30-37130

COVER

10

01010-31235

BOLT

11

01643-31232

WASHER

12

205-30-67530

COVER

13

01010-31235

BOLT

14

01643-31232

WASHER

15

205-30-67520

COVER

16

205-30-67510

COVER

17

01010-31650

BOLT

18

01643-31645

WASHER

19

205-30-62531

GUARD

19

205-30-62530

GUARD

20

01010-32045

BOLT

20

01010-31645

BOLT

21

01643-32060

WASHER

21

01643-31645

WASHER

Выбрано товаров: 25