Запчасти Komatsu PC220-1 КАБИНА РАМА ОСНОВНАЯ РАМА И КАБИНА

Схема запчастей Komatsu PC220-1 - КАБИНА РАМА ОСНОВНАЯ РАМА И КАБИНА
FIT
1:1
100%

Артикул

Название

Примечание

Количество

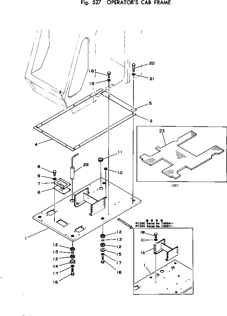
1

205-54-63123

FRAME

1

205-54-63122

FRAME

1A

205-54-63970

BRACKET

1B

01010-31230

BOLT

1C

01643-31232

WASHER

2

20D-54-13380

SHEET

3

20D-54-13390

SHEET

4

20D-54-13360

SHEET

5

20D-54-13370

SHEET

6

203-54-31270

COVER

7

203-54-31260

PLATE

8

01010-30616

BOLT

9

01643-30623

WASHER

10

09415-02520

CAP

11

09415-05016

CAP

12

203-54-21110

CUSHION

13

07000-03025

O-RING

14

201-54-21860

COLLAR

15

205-54-51950

PLATE

16

01010-31675

BOLT

17

01643-31645

WASHER

18

01010-31230

BOLT

19

01643-31232

WASHER

20

01010-31270

BOLT

21

01643-31232

WASHER

22

205-54-63131

PIN

23

205-54-64910

MAT

Выбрано товаров: 27