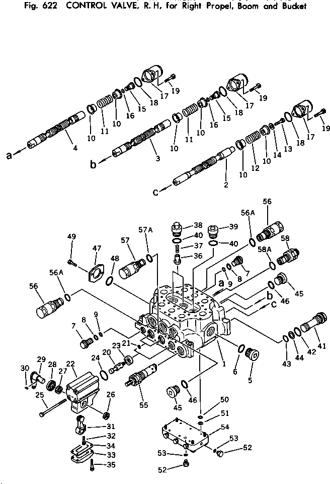
Запчасти Komatsu PC220-1 УПРАВЛЯЮЩ. КЛАПАН¤ ПРАВ.¤ ДЛЯ ПРАВ. PКАНАТL¤ СТРЕЛА И КОВШ УПРАВЛ-Е РАБОЧИМ ОБОРУДОВАНИЕМ

Схема запчастей Komatsu PC220-1 - УПРАВЛЯЮЩ. КЛАПАН¤ ПРАВ.¤ ДЛЯ ПРАВ. PКАНАТL¤ СТРЕЛА И КОВШ УПРАВЛ-Е РАБОЧИМ ОБОРУДОВАНИЕМ
FIT
1:1
100%

Артикул

Название

Примечание

Количество

|$0

700-93-22002

CONTROL VALVE ASS'Y

|$1

700-93-18000

CONTROL VALVE ASS'Y

1

BODY

2

SPOOL

3

SPOOL

4

SPOOL

5

07040-13618

PLUG

6

07002-13634

O-RING

7

700-22-11360

PLUG

8

07002-02434

O-RING

9

07000-02014

O-RING

10

700-93-11870

RETAINER

11

700-93-11880

SPRING

12

700-93-11890

SPRING

13

01252-31016

BOLT

14

01643-31032

WASHER

15

700-93-11910

PLUG

16

07002-11423

O-RING

17

700-93-11920

CASE

18

07430-71380

O-RING

19

01252-30820

BOLT

20

700-93-11930

JOINT

21

07002-11423

O-RING

22

700-93-11710

CASE

23

700-93-11720

COLLAR

24

07430-71380

O-RING

25

700-93-11730

BOLT

26

700-93-11740

BEARING

27

700-93-11750

BEARING

28

700-93-11761

SEAL

29

700-93-11770

LEVER

30

04010-00416

KEY

31

700-93-11780

LEVER

32

01010-30825

BOLT

33

700-93-11790

PLATE

34

700-93-11810

GASKET

35

01010-30820

BOLT

36

700-93-11461

VALVE

37

700-93-11471

SPRING

38

700-93-11481

PLUG

39

700-93-11380

PLUG

40

07002-13634

O-RING

41

700-93-11310

PLUG

42

07002-03634

O-RING

43

700-93-11320

O-RING

44

700-93-11330

RING

45

07040-13618

PLUG

46

07002-03634

O-RING

47

700-93-11940

FLANGE

48

07430-71380

O-RING

49

01010-51025

BOLT

50

07000-12010

O-RING

51

700-93-12270

RING

52

07040-11409

PLUG

53

07002-01423

O-RING

54

700-90-92001

CHECK VALVE ASS'Y

55

700-90-51001

VALVE ASS'Y,RELIEF

55

700-91-51000

VALVE ASS'Y,RELIEF

56

700-90-61000

VALVE ASS'Y,SUCTION AND SAFETY

56A

07002-03634

O-RING

57

700-90-63000

SUCTION VALVE ASS'Y

57A

07002-03634

O-RING

58

700-90-65000

SAFETY VALVE ASS'Y

58A

07002-03634

O-RING

Выбрано товаров: 64