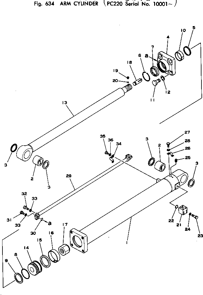
Запчасти Komatsu PC220-1 ЦИЛИНДР РУКОЯТИ УПРАВЛ-Е РАБОЧИМ ОБОРУДОВАНИЕМ

Схема запчастей Komatsu PC220-1 - ЦИЛИНДР РУКОЯТИ УПРАВЛ-Е РАБОЧИМ ОБОРУДОВАНИЕМ
FIT
1:1
100%

Артикул

Название

Примечание

Количество

|$0

206-63-66701

ARM CYLINDER ASS'Y

|$1

206-63-66700

ARM CYLINDER ASS'Y

1

206-63-66740

CYLINDER

1

206-63-66940

CYLINDER

2

206-63-66360

BUSHING

3

07145-00090

SEAL

4

206-63-66730

HEAD

5

707-51-11110

PACKING

6

07179-00135

RING

7

198-63-94170

SEAL

8

07000-15150

O-RING

9

07146-05152

RING

10

07177-01135

BUSHING

11

01011-83600

BOLT

12

01601-23690

WASHER

13

206-63-66721

ROD

13

206-63-66720

ROD

14

206-63-66780

PISTON

15

707-44-16080

RING

16

07155-01640

RING

17

07165-16870

NUT

18

206-63-66890

PLUNGER

19

206-63-66770

SCREW

20

04260-00952

BALL

21

205-62-64240

ELBOW

21

205-63-66990

ELBOW

22

07000-13035

O-RING

23

01010-51090

BOLT

24

01643-31032

WASHER

25

07042-20108

PLUG

26

07282-01871

CLAMP

27

01010-50816

BOLT

28

01602-20825

WASHER

29

206-62-44570

TUBE

30

07000-13035

O-RING

31

01010-51055

BOLT

32

01010-51060

BOLT

33

01643-31032

WASHER

34

07282-03411

CLAMP

35

01010-51020

BOLT

36

01643-31032

WASHER

Выбрано товаров: 41