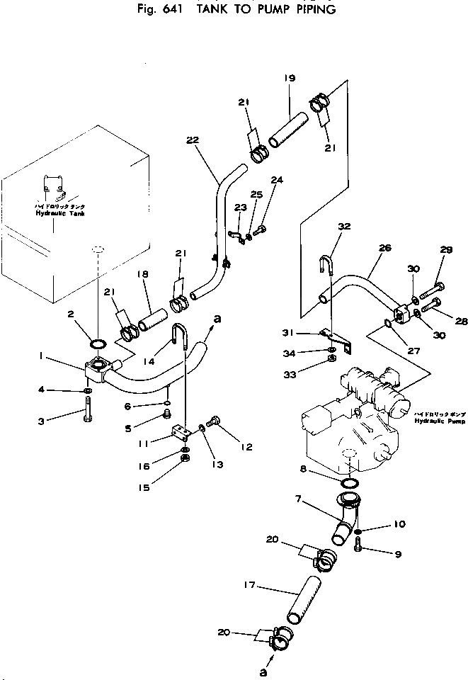
Запчасти Komatsu PC220-1 ИЗ БАКА В НАСОС ТРУБЫ УПРАВЛ-Е РАБОЧИМ ОБОРУДОВАНИЕМ

Схема запчастей Komatsu PC220-1 - ИЗ БАКА В НАСОС ТРУБЫ УПРАВЛ-Е РАБОЧИМ ОБОРУДОВАНИЕМ
FIT
1:1
100%

Артикул

Название

Примечание

Количество

1

205-62-62112

TUBE

2

07000-02105

O-RING

3

01011-31230

BOLT

4

01643-31232

WASHER

5

07040-01812

PLUG

6

07002-01823

O-RING

7

205-62-62120

TUBE

8

07000-02125

O-RING

9

01010-31030

BOLT

10

01643-31032

WASHER

11

205-62-62630

ANGLE

12

01010-31225

BOLT

13

01643-31232

WASHER

14

07283-28973

CLIP

15

01599-01214

NUT

16

01643-31232

WASHER

17

07260-28745

HOSE

18

07260-05820

HOSE

19

07260-05832

HOSE

19

07260-05836

HOSE

20

07281-01159

CLAMP

21

07281-00909

CLAMP

22

205-62-62142

TUBE

23

07282-06114

CLAMP

24

01010-31225

BOLT

25

01641-31223

WASHER

26

205-62-62163

TUBE

27

07000-03048

O-RING

28

01010-31280

BOLT

29

01011-31200

BOLT

30

01643-31232

WASHER

31

205-62-65952

BRACKET

32

07283-26155

CLIP

33

01599-01011

NUT

34

01643-31032

WASHER

Выбрано товаров: 35