Качественные детали и логистика
Оригинальные и аналоговые запчасти с доставкой по России, Казахстану и Беларуси
©2022 PartSell ООО "Система" ИНН 2463123282 ОГРН 1212400004838
Центральный офис: г. Красноярск, Академика Киренского, д.87, пом.4
Телефон: 8 (800) 777-65-74 Email: zakaz@partsell.ru
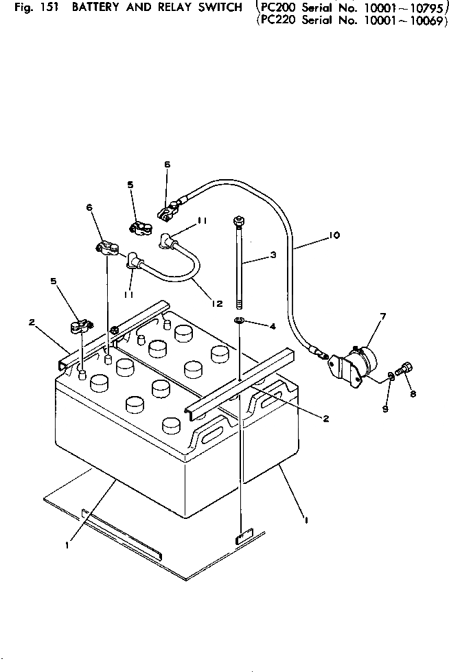
АККУМУЛЯТОР И РЕЛЕ(№-79)
№
Артикул
Название
Примечание
Количество
1
08000-02215
BATTERY (145G51)
207-06-11790
BATTERY (195G51),(FOR COLD WEATHER)
2
205-06-51380
CLAMP
3
202-09-11120
BOLT
4
01643-31232
WASHER
5
08000-00000
TERMINAL, (+)
6
08000-00001
TERMINAL, (-)
7
08088-10000
SWITCH,BATTERY RELAY
8
01010-30816
9
01602-00825
10
205-06-11150
WIRE
11
08038-06031
CAP
12
131-06-44172
Выбрано товаров: 0