Запчасти Komatsu PC220-1 ИЗ НАСОСА В КЛАПАН ТРУБЫ (/)(№-8) УПРАВЛ-Е РАБОЧИМ ОБОРУДОВАНИЕМ

Схема запчастей Komatsu PC220-1 - ИЗ НАСОСА В КЛАПАН ТРУБЫ (/)(№-8) УПРАВЛ-Е РАБОЧИМ ОБОРУДОВАНИЕМ
FIT
1:1
100%

Артикул

Название

Примечание

Количество

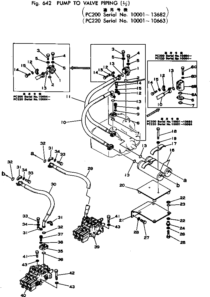
1

206-62-41473

BLOCK

1

206-62-41472

BLOCK

1

206-62-41470

BLOCK

2

07000-13035

O-RING

3

01010-31045

BOLT

3

01010-31070

BOLT

3

01010-31065

BOLT

4

01010-31080

BOLT

5

01643-31032

WASHER

6

206-62-31490

FLANGE

6A

07000-13035

O-RING

6B

205-62-66281

ELBOW

6C

01011-31030

BOLT

6D

01643-31032

WASHER

7

07000-13038

O-RING

8

01252-31030

BOLT

9

01602-01030

WASHER

10

07127-01010

HOSE

10

205-62-66220

HOSE

11

07127-01011

HOSE

12

07371-31049

FLANGE

13

07000-13032

O-RING

14

01010-31035

BOLT

15

01602-01030

WASHER

16

206-62-41451

MUFFLER

16

206-62-41450

MUFFLER

17

206-62-41460

CLAMP

18

01011-31250

BOLT

19

01643-31232

WASHER

20

206-62-41420

BRACKET

21

206-62-41410

BRACKET

22

206-62-41430

CUSHION

23

07000-02020

O-RING

24

206-62-41440

COLLAR

25

01010-31050

BOLT

26

01643-31032

WASHER

27

01010-31230

BOLT

28

01643-31232

WASHER

29

07120-01010

HOSE

30

07120-01011

HOSE

31

07371-31049

FLANGE

32

07000-13032

O-RING

33

01010-31035

BOLT

34

01602-21030

WASHER

35

206-62-31490

FLANGE

36

07000-13038

O-RING

37

01252-31030

BOLT

38

01602-01030

WASHER

39

700-93-21002

CONTROL VALVE ASS'Y

39

700-93-17000

CONTROL VALVE ASS'Y

40

700-93-22002

CONTROL VALVE ASS'Y

40

700-93-18000

CONTROL VALVE ASS'Y

41

01010-31280

BOLT

42

01010-31285

BOLT

43

01643-31232

WASHER

Выбрано товаров: 55