Запчасти Komatsu PC220-1 ИЗ НАСОСА В КЛАПАН ТРУБЫ (/)(№8-) УПРАВЛ-Е РАБОЧИМ ОБОРУДОВАНИЕМ

Схема запчастей Komatsu PC220-1 - ИЗ НАСОСА В КЛАПАН ТРУБЫ (/)(№8-) УПРАВЛ-Е РАБОЧИМ ОБОРУДОВАНИЕМ
FIT
1:1
100%

Артикул

Название

Примечание

Количество

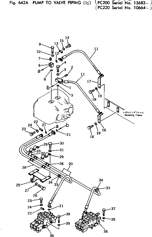
1

206-62-41720

BLOCK

2

07042-30108

PLUG

3

07000-13035

O-RING

4

01010-31050

BOLT

4

01010-31055

BOLT

5

01643-31032

WASHER

6

206-62-41730

BLOCK

7

07042-30108

PLUG

8

07000-13035

O-RING

9

01010-31090

BOLT

10

01643-31032

WASHER

11

07127-00610

HOSE

12

07000-13025

O-RING

13

07371-30638

FLANGE

14

01010-30830

BOLT

15

01643-30823

WASHER

16

206-62-41740

BRACKET

17

206-62-41770

BRACKET

18

01010-31230

BOLT

19

01643-31232

WASHER

20

206-62-41691

HOSE

21

07000-13032

O-RING

22

07371-31049

FLANGE

23

01010-31035

BOLT

24

01643-31032

WASHER

25

206-62-41661

BRACKET

26

01010-31280

BOLT

27

01643-31232

WASHER

28

203-62-32330

CUSHION

29

206-62-41681

CLAMP

30

01010-31225

BOLT

31

01643-31232

WASHER

32

205-62-53780

COVER

33

08034-00536

BAND

34

205-62-55780

COVER

35

700-93-21002

CONTROL VALVE ASS'Y

35

700-93-17000

CONTROL VALVE ASS'Y

36

700-93-22002

CONTROL VALVE ASS'Y

36

700-93-18000

CONTROL VALVE ASS'Y

37

01010-31280

BOLT

38

01010-31285

BOLT

39

01643-31232

WASHER

Выбрано товаров: 42