Запчасти Komatsu PC220-2 АККУМУЛЯТОР КОМПОНЕНТЫ ДВИГАТЕЛЯ И ЭЛЕКТРИКА

Схема запчастей Komatsu PC220-2 - АККУМУЛЯТОР КОМПОНЕНТЫ ДВИГАТЕЛЯ И ЭЛЕКТРИКА
FIT
1:1
100%

Артикул

Название

Примечание

Количество

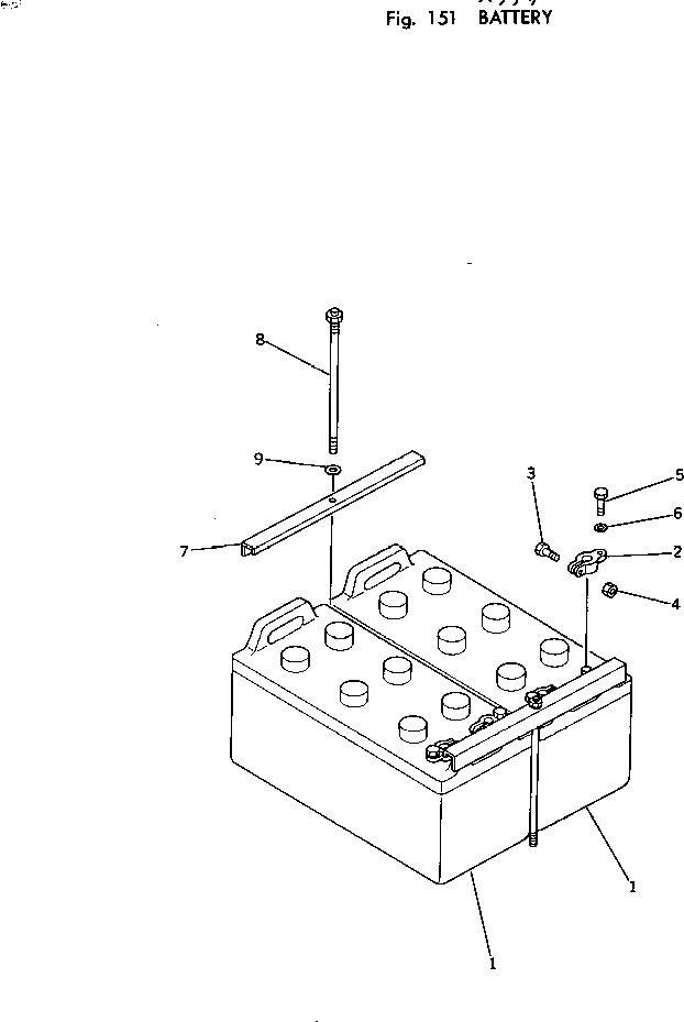
1

08000-02215

BATTERY (145G51)

2

08000-00000

TERMINAL, (+)

2

08000-00001

TERMINAL, (-)

3

01010-30830

BOLT

4

01580-00806

NUT

5

01050-31018

BOLT

6

01640-01016

WASHER

7

205-06-51380

CLAMP

8

202-09-11120

BOLT

9

01643-31232

WASHER

Выбрано товаров: 10