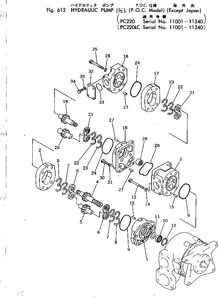
Запчасти Komatsu PC220-2 ГИДР. НАСОС. (/) (P.O.C. MODEL) (E.J.)(№-) УПРАВЛ-Е РАБОЧИМ ОБОРУДОВАНИЕМ

Схема запчастей Komatsu PC220-2 - ГИДР. НАСОС. (/) (P.O.C. MODEL) (E.J.)(№-) УПРАВЛ-Е РАБОЧИМ ОБОРУДОВАНИЕМ
FIT
1:1
100%

Артикул

Название

Примечание

Количество

|$0

705-80-10010

PUMP ASS'Y,(IPL145-SAL32+8)

|$1

705-51-10040

PUMP ASS'Y

|$2

705-23-30230

PUMP ASS'Y

1

BRACKET ASS'Y

2

CASE,GEAR

3

CARRIER ASS'Y

4

GEAR,DRIVE

5

GEAR,DRIVEN

6

PLATE,SIDE

7

RING,BACK-UP

8

SEAL,SEAL

9

O-RING

10

704-17-01810

SEAL,OIL

11

705-17-01870

PLATE

12

04065-03515

RING,SNAP

13

BOLT

14

WASHER,SPRING

15

PIN,DOWEL

|$18

705-11-20530

PUMP ASS'Y

16

BRACKET ASS'Y

17

CASE,GEAR

18

COVER ASS'Y

19

GEAR,DRIVE

20

GEAR,DRIVEN

21

PLATE,SIDE

22

RING,BACK-UP

23

SEAL,SEAL

24

O-RING

25

BOLT

26

WASHER,SPRING

27

PIN,DOWEL

28

705-17-01330

COUPLING ASS'Y

29

705-17-01480

O-RING

30

705-17-02374

BOLT

31

01602-21030

WASHER,SPRING

32

705-17-01880

PLATE

33

07000-03032

O-RING

34

01010-51025

BOLT

35

01602-21030

WASHER,SPRING

Выбрано товаров: 39