Запчасти Komatsu PC220-2 LIGHT РАБОЧ. КОВШ¤ .M¤ MM ОПЦИОННЫЕ КОМПОНЕНТЫ (/)

Схема запчастей Komatsu PC220-2 - LIGHT РАБОЧ. КОВШ¤ .M¤ MM ОПЦИОННЫЕ КОМПОНЕНТЫ (/)
FIT
1:1
100%

Артикул

Название

Примечание

Количество

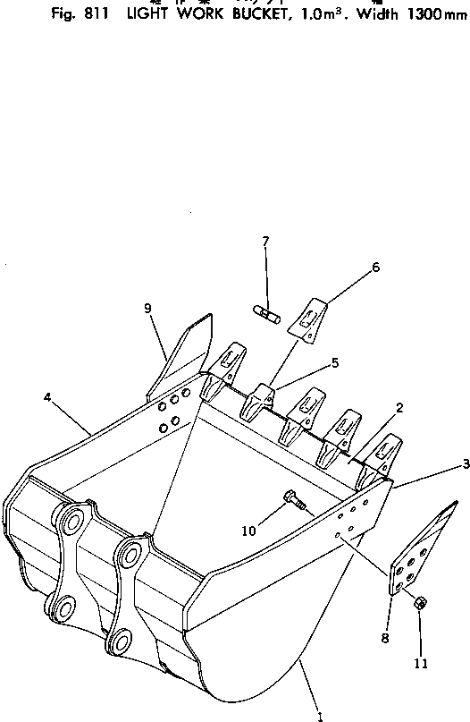
1

206-920-4510

BUCKET

2

206-920-4520

PLATE (WELDED)

3

206-70-48540

PLATE,L.H. (WELDED)

4

206-70-48550

PLATE,R.H. (WELDED)

5

206-70-48521

ADAPTER

6

207-70-14151

TOOTH

7

09244-02516

PIN

8

205-70-68171

CUTTER,L.H.

9

205-70-68181

CUTTER,R.H.

10

176-32-11210

BOLT, SHOE

11

01803-02430

NUT

Выбрано товаров: 11