Запчасти Komatsu PC220-2 ТРАПЕЦЕВИДНЫЙ КОВШAND ВЫРАВНИВАНИЕ УКЛОНОВ КОВШ ОПЦИОННЫЕ КОМПОНЕНТЫ (/)

Схема запчастей Komatsu PC220-2 - ТРАПЕЦЕВИДНЫЙ КОВШAND ВЫРАВНИВАНИЕ УКЛОНОВ КОВШ ОПЦИОННЫЕ КОМПОНЕНТЫ (/)
FIT
1:1
100%

Артикул

Название

Примечание

Количество

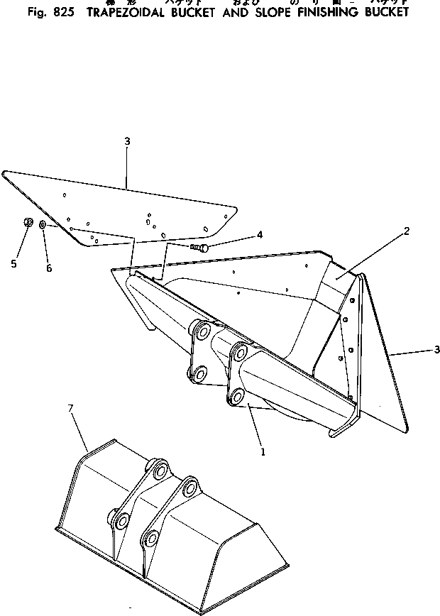
1

205-929-6210

BUCKET,TRAPEZOIDAL

2

205-929-6120

PLATE (WELDED)

3

205-929-6130

PLATE

4

01010-32470

BOLT

5

01580-02419

NUT

6

01643-32460

WASHER

7

205-928-6110

BUCKET,SLOPE FINISHING

Выбрано товаров: 7