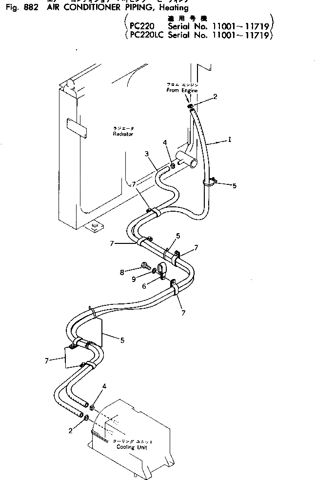
Запчасти Komatsu PC220-2 ТРУБКИ КОНДИЦИОНЕРА¤ ОБОГРЕВ.(№-79) ОПЦИОННЫЕ КОМПОНЕНТЫ (/)

Схема запчастей Komatsu PC220-2 - ТРУБКИ КОНДИЦИОНЕРА¤ ОБОГРЕВ.(№-79) ОПЦИОННЫЕ КОМПОНЕНТЫ (/)
FIT
1:1
100%

Артикул

Название

Примечание

Количество

1

09483-00436

HOSE

2

07281-00259

CLAMP

3

09483-00430

HOSE

4

07281-00259

CLAMP

5

08034-00536

BAND

6

176-911-4180

CLIP

7

154-06-13780

CLAMP

8

01010-51020

BOLT

9

01643-31032

WASHER

Выбрано товаров: 9