Запчасти Komatsu PC220-2 CAR ОХЛАДИТЕЛЬ КОМПОНЕНТЫ(№78-) ОПЦИОННЫЕ КОМПОНЕНТЫ (/)

Схема запчастей Komatsu PC220-2 - CAR ОХЛАДИТЕЛЬ КОМПОНЕНТЫ(№78-) ОПЦИОННЫЕ КОМПОНЕНТЫ (/)
FIT
1:1
100%

Артикул

Название

Примечание

Количество

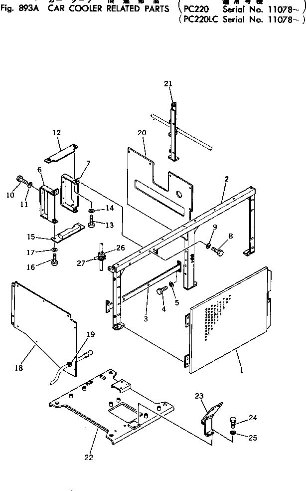
1

205-978-6640

DOOR

2

205-979-6290

FRAME

3

205-979-6221

BRACKET

4

01010-51230

BOLT

5

01643-31232

WASHER

6

205-978-6531

BRACKET

7

205-978-6541

BRACKET

8

01010-51230

BOLT

9

01643-31232

WASHER

10

01010-50825

BOLT

11

01643-30823

WASHER

12

205-978-6660

PLATE

13

01010-50820

BOLT

14

01643-30823

WASHER

15

205-978-6670

PLATE

16

01010-51230

BOLT

17

01643-31232

WASHER

18

205-979-6320

COVER

19

08037-02512

GROMMET

20

205-979-6330

COVER

21

205-978-6610

FRAME

22

205-978-6570

PLATE

23

205-978-6550

BRACKET

24

01010-51025

BOLT

25

01643-31032

WASHER

26

205-62-55780

COVER

27

08034-00536

BAND

Выбрано товаров: 27