Запчасти Komatsu PC220-2 ГУСЕНИЧНАЯ РАМА(№-) ХОДОВАЯ

Схема запчастей Komatsu PC220-2 - ГУСЕНИЧНАЯ РАМА(№-) ХОДОВАЯ
FIT
1:1
100%

Артикул

Название

Примечание

Количество

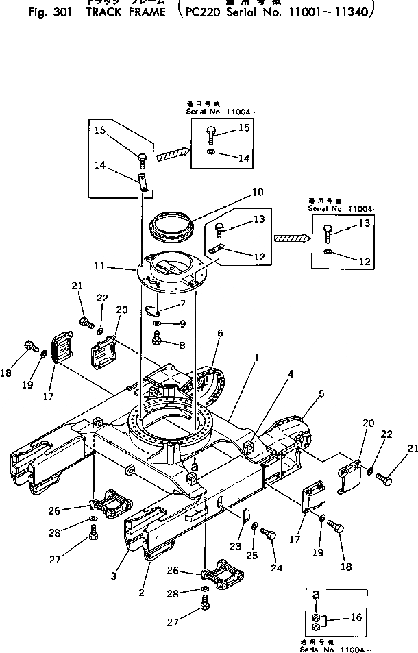
1

206-30-43110

FRAME,TRACK

2

205-30-62540

GUARD (WELDED)

3

205-30-62550

GUARD (WELDED)

4

205-30-61950

SUPPORT (WELDED)

5

205-30-61930

CASE,L.H. (WELDED)

6

205-30-61940

CASE,R.H. (WELDED)

7

205-30-67650

COVER (WELDED)

8

01010-31225

BOLT

9

01643-31232

WASHER

10

205-30-67610

SEAL

11

206-30-43150

COVER

11

205-30-67582

COVER

11

205-30-67581

COVER

12

01643-31232

WASHER

12

410-15-12390

LOCK

13

01016-31250

BOLT

13

01010-31235

BOLT

14

01643-31232

WASHER

14

205-30-67640

LOCK

15

01016-31250

BOLT

15

01010-31225

BOLT

16

01580-01210

NUT

17

205-30-61821

COVER

18

01010-31650

BOLT

19

01643-31645

WASHER

20

205-30-61831

COVER,L.H.

20

205-30-61840

COVER,R.H.

21

01010-31650

BOLT

22

01643-31645

WASHER

23

205-30-67622

COVER

24

01010-31225

BOLT

25

01643-31232

WASHER

26

205-30-62531

GUARD

27

01010-32045

BOLT

28

01643-32060

WASHER

Выбрано товаров: 35