Качественные детали и логистика
Оригинальные и аналоговые запчасти с доставкой по России, Казахстану и Беларуси
©2022 PartSell ООО "Система" ИНН 2463123282 ОГРН 1212400004838
Центральный офис: г. Красноярск, Академика Киренского, д.87, пом.4
Телефон: 8 (800) 777-65-74 Email: zakaz@partsell.ru
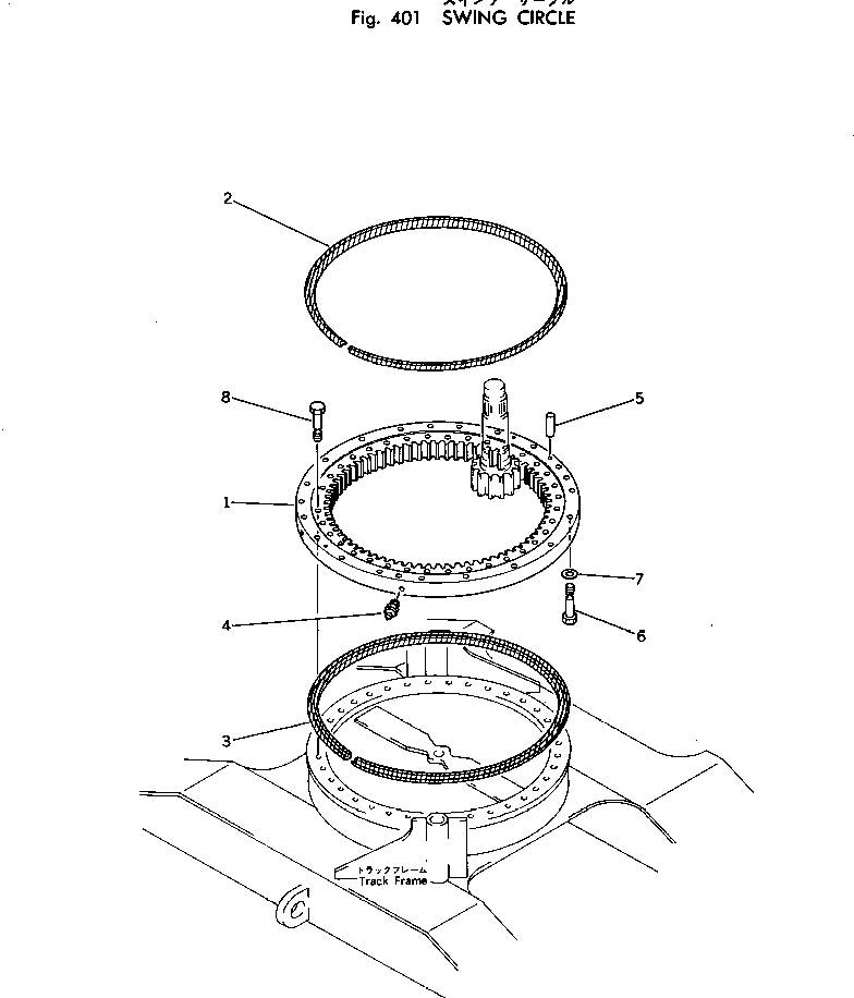
ПОВОРОТН. КРУГ
№
Артикул
Название
Примечание
Количество
1
206-25-41111
CIRCLE,SWING
2
205-25-62230
SEAL
3
205-25-62220
4
07020-00000
FITTING,GREASE
5
04020-01842
PIN,DOWEL
6
205-09-61150
BOLT
7
01643-32260
WASHER
8
Выбрано товаров: 0