Запчасти Komatsu PC220-2 ОБОГРЕВАТЕЛЬ.(№7-) ОСНОВНАЯ РАМА И КАБИНА

Схема запчастей Komatsu PC220-2 - ОБОГРЕВАТЕЛЬ.(№7-) ОСНОВНАЯ РАМА И КАБИНА
FIT
1:1
100%

Артикул

Название

Примечание

Количество

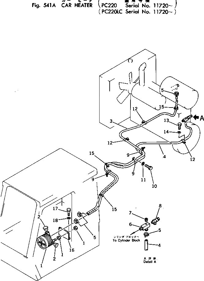
1

09480-02400

HEATER

2

09480-10000

PLUG

3

09483-00436

HOSE

4

09483-00430

HOSE

5

07281-00259

CLAMP

6

205-977-6110

NIPPLE

7

02720-20607

PLUG

8

6050-61-6630

VALVE,DRAIN

9

154-06-13780

CLAMP

10

01010-51020

BOLT

11

01643-31032

WASHER

12

08036-03014

CLIP

13

01010-51025

BOLT

14

01643-31032

WASHER

15

08034-00519

BAND

16

207-977-1110

BRACKET

17

01010-51225

BOLT

18

01643-31232

WASHER

Выбрано товаров: 18