Запчасти Komatsu PC220-3 WRIST УПРАВЛ-Е И СТОЙКА¤ ПРАВ. (/)(№-) ПОВОРОТН. И СИСТЕМА УПРАВЛЕНИЯ

Схема запчастей Komatsu PC220-3 - WRIST УПРАВЛ-Е И СТОЙКА¤ ПРАВ. (/)(№-) ПОВОРОТН. И СИСТЕМА УПРАВЛЕНИЯ
FIT
1:1
100%

Артикул

Название

Примечание

Количество

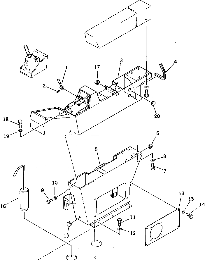
1

205-43-71291

LEVER,R.H.

2

04025-00520

PIN,SPRING

3

205-43-71254

BOX,R.H.

4

21T-54-26220

SEAL

5

205-43-71663

CASE,R.H.

6

08037-02512

GROMMET

7

01010-50820

BOLT

8

01643-30823

WASHER

9

198-911-3430

SCREW

10

198-911-3160

WASHER

11

01010-51230

BOLT

12

01643-31232

WASHER

13

205-43-71673

COVER

14

01010-50820

BOLT

15

01643-30823

WASHER

16

205-43-72492

PIN

17

08037-02512

GROMMET

18

01010-50825

BOLT

19

01643-30823

WASHER

20

09415-02512

CAP

Выбрано товаров: 20